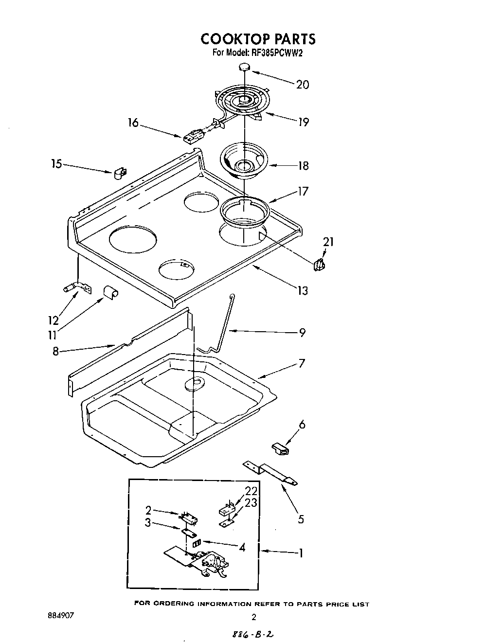
RF385PCWN2 02 – COOKTOP