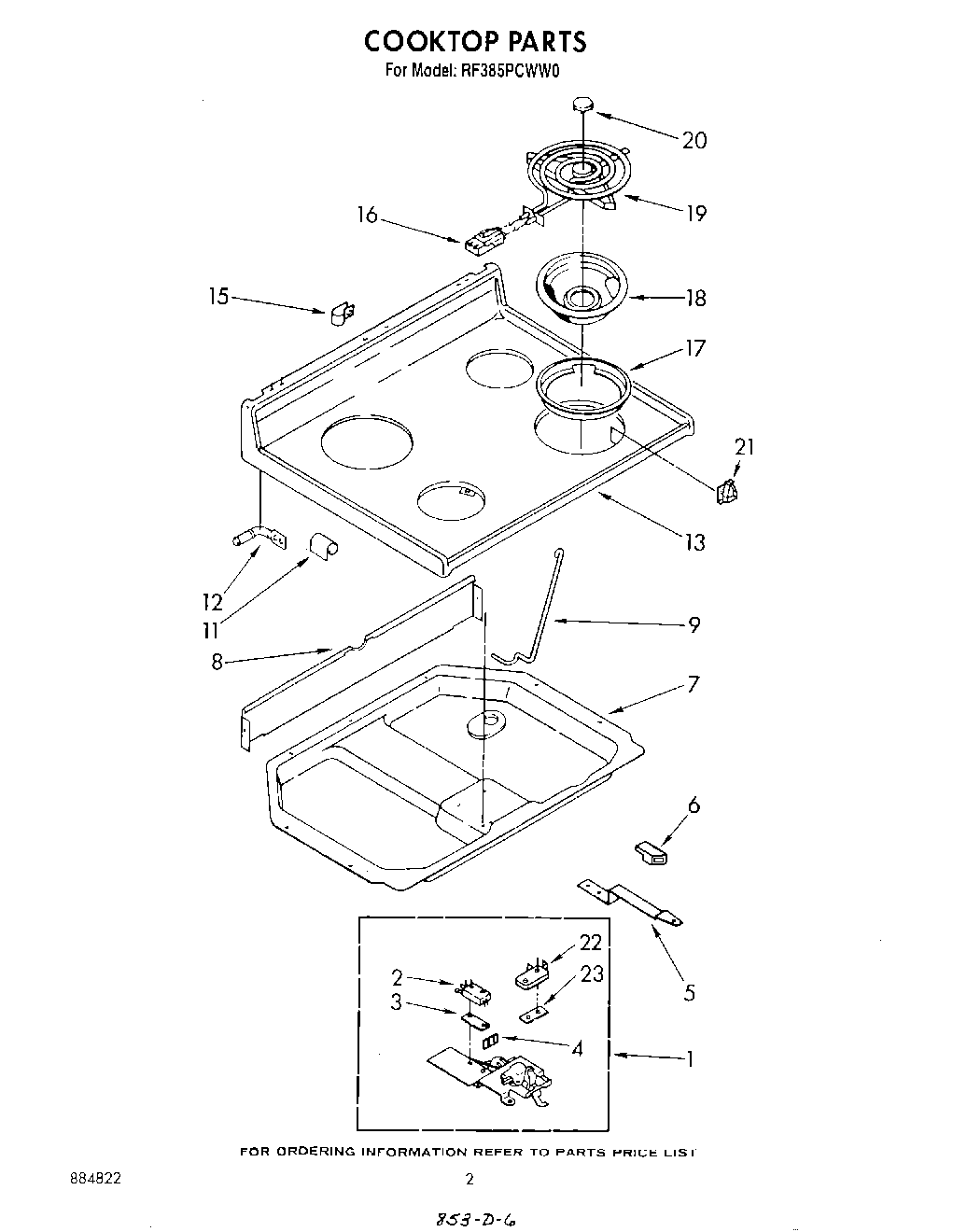
RF385PCWW0 02 – COOKTOP