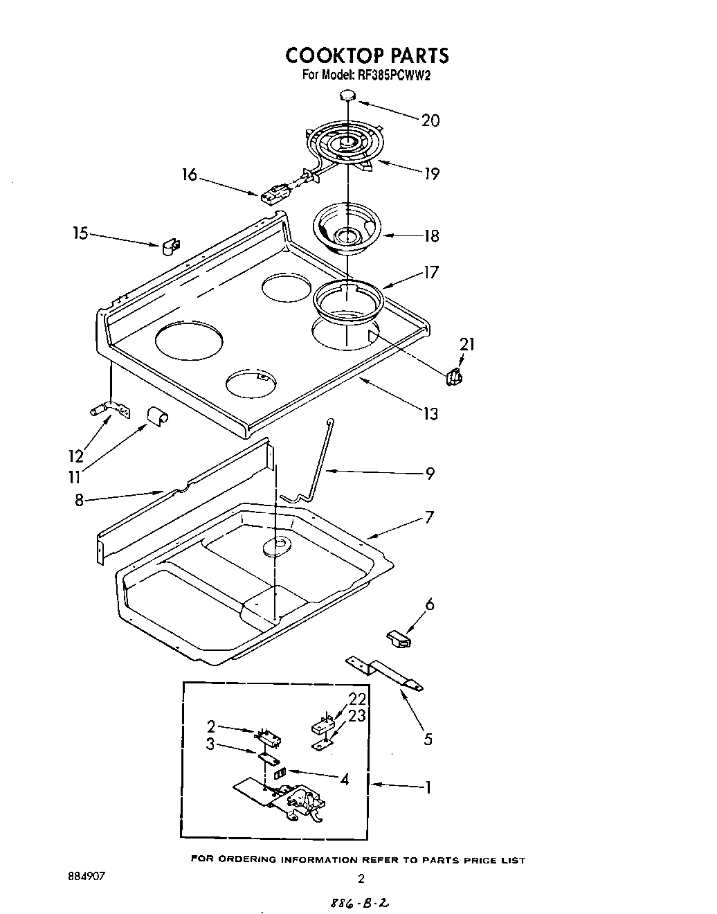
RF385PCWW2 02 – COOKTOP