RF385PXGZ1 05 – DOOR, OPTIONAL

RF385PXGZ1 05 – DOOR, OPTIONAL

Products

PositionProduct
1238614 Whirlpool Bumper Hinge
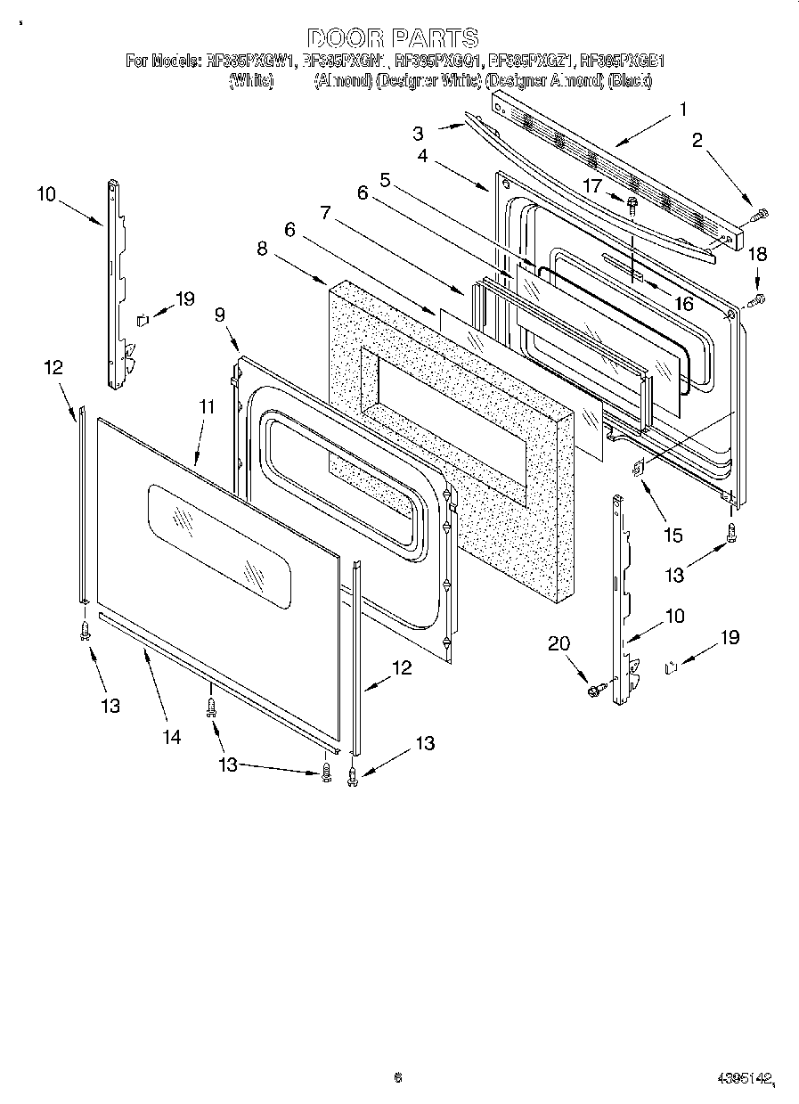
1Trim, Top (Black)
1WPW10016370 Whirlpool Door Trim
1Trim, Door Top (Almond)
2WP3196164 Whirlpool Screw
3WPW10202216 Whirlpool Door Handle
3Handle, Door (Almond)
3WPW10202217 Whirlpool Door Handle
4Liner, Door
58522415 Whirlpool Oven Wind Gasket
6WP9758164 Whirlpool Door Glass
7Frame, Glass
8Insulation, Door
99761499 Whirlpool Oven Retainer
10WP8053807 Whirlpool Oven Door Hinge
11WP9762476 Whirlpool Door Glass
11WP9762477 Whirlpool Glass Door
11Glass, Outer Door (Almond)
13W10491985 Whirlpool Screw
148184858 Whirlpool Door Trim
148184859 Whirlpool Range Oven Door Trim Kit (2 Sides, 1 Bottom)
148184860 Whirlpool Oven Door Trim
15Clip, Glass (4)
16Bracket, Latch
17WP3400832 Whirlpool Screw
18WP179051 Whirlpool Screw
19WP3196925 Whirlpool Clip Assembly
2018 Ga. 80~c Rating (Red)
20W11244557 Whirlpool Screw
208212471 Whirlpool Oven Paint
201
20Wire (12 Ga. 150 c Black)
20Wire (14 Ga. 200 c Brown)
20Golden Harvest (Uncut)
203184020 Whirlpool Oven Wire
203196696 Whirlpool Clip
20Grease
208273888A Whirlpool Range Oven Anchor Anti-Tip Bracket Kit
20WP3196154 Whirlpool Screw Assembly
20W11396691 Whirlpool Element Receptacle and Wire Kit
20Harness, Wire (Door Switch)
20WPL 8053513
20Wire (14 Ga. 150 c Yellow)
20Wire (14 Ga. 150 c Orange)
20WPL 799832
20511873 Whirlpool Refrigerator Paint
20350942 Whirlpool Spray Paint
20WPL 72112
20Platinum (Uncut)
20Enamal, Toast (1 Qt. Uncut)
20Paint, Spray (13 Oz.) (Platinum)
20Toast
20Golden Harvest
2072113 Whirlpool Touch-Up Paint
2072110 Whirlpool Dryer Touch-Up Paint, Golden Harvest 6 Oz
20Almond (Uncut)
20WP72107 Whirlpool Touchup
20799344 Whirlpool Refrigerator Paint
2072017 Whirlpool Appliance Touch-Up Paint White
20350956 Whirlpool Spray Assembly
20WPW10208653 Whirlpool Insulation
20FOIL, ALUMINUM OVEN (18`` X 25 )
20WP3196175 Whirlpool Screw
20Wire (14 Ga. 150 c Green)
20Wire (14 Ga. 150 c Brown)
20Wire (14 Ga. 150 c Blue)
20242831 Whirlpool Oven Wire
20Clip, Ground Wire
203400964 Whirlpool Oven Clip
20814381 Whirlpool Pin
20W10355051 Whirlpool Cooktop Cleaner Affresh (10 Oz)
20Paint, Spray 13 Oz. (Avocado)
20paint, spray 13 oz. (coffee)
20Paint, Touch-Up 1/2 Oz. (Coffee)
2072109 Whirlpool Dacor Avocado Touch-Up Paint
20285006 Whirlpool Spray
20Wire, 25`` Roll (White 14 GA.)
20Wire, 25` Roll (Red 14 Ga.)
20Wire, 25` Roll (Black 14 Ga.)
20350930 Whirlpool White Spray Paint