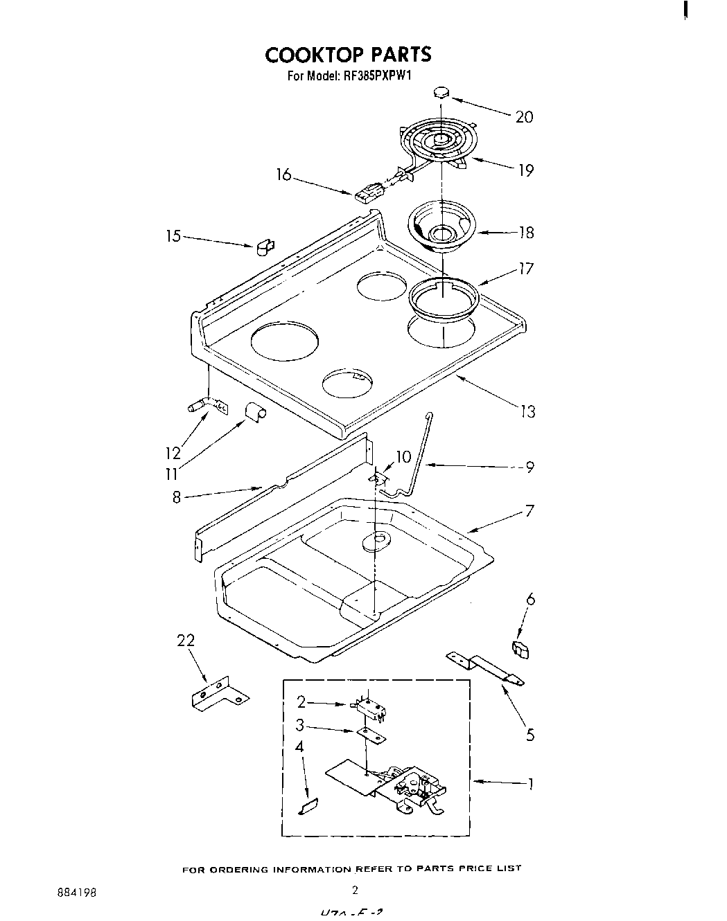
RF385PXPW1 02 – COOKTOP