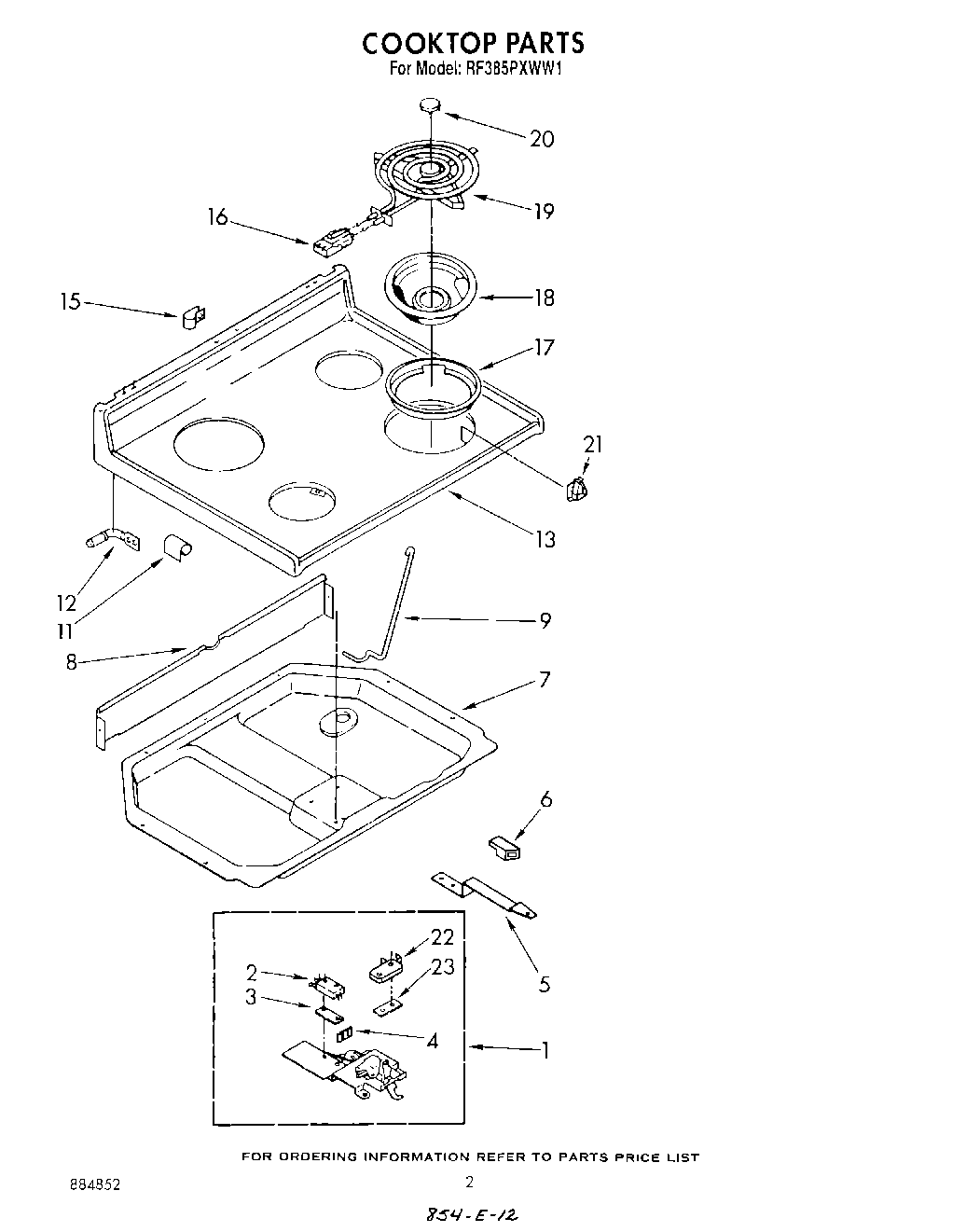
RF385PXWN1 02 – COOKTOP