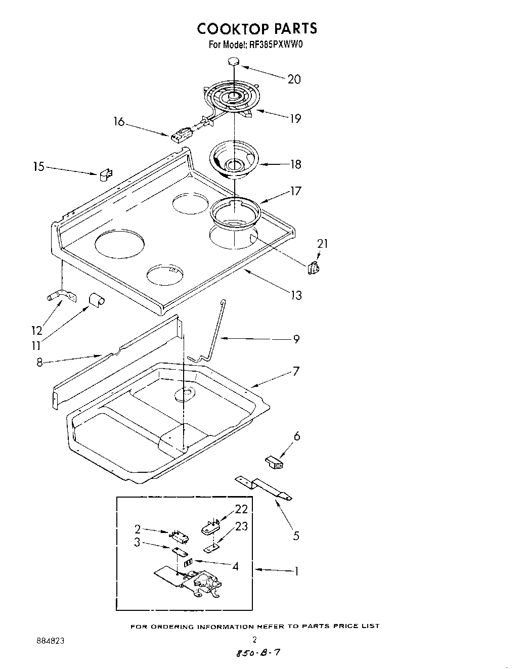
RF385PXWW0 02 – COOKTOP