RF386PXEQ1 05 – DRAWER AND BROILER, LIT/OPTIONALadmin2025-04-26T12:47:53+00:00RF386PXEQ1 05 – DRAWER AND BROILER, LIT/OPTIONAL
Products
| Position | Product |
|---|
| W11244557 Whirlpool Screw |
| 814381 Whirlpool Pin |
| WPL LIT3196279 |
| 3184020 Whirlpool Oven Wire |
| 3196696 Whirlpool Clip |
| 3400964 Whirlpool Oven Clip |
| WP3196154 Whirlpool Screw Assembly |
| Harness, Wire (Door Switch) |
| Clip, Ground Wire |
| WPL 8053721 |
| Literature (Installation, Instructions (Template)) |
| Safer Cooking Tips |
| WPL LIT3196077 |
| WPL 3195153 |
| WPL LIT3195944 |
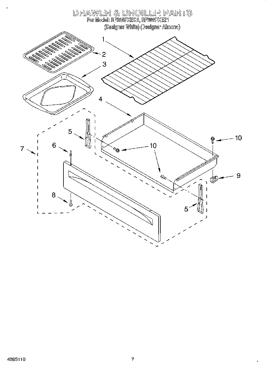
| 1 | WPW10256908 Whirlpool Oven Range Rack |
| 2 | WP3195996 Whirlpool Pan Grid |
| 3 | WP3196076 Whirlpool Broil Pan |
| 4 | Drawer, Storage |
| 5 | W10838990 Whirlpool Mounting Bracket |
| 6 | WP3196814 Whirlpool Rivet |
| 6 | 3196815 Whirlpool Oven Rivet |
| 7 | Panel, Drawer Front (White) |
| 7 | Panel, Drawer Front (Almond) |
| 9 | WP8053334 Whirlpool Drawer Glide |
| 10 | Wire (12 Ga. 150 c Black) |
| 10 | 72113 Whirlpool Touch-Up Paint |
| 10 | 8273888A Whirlpool Range Oven Anchor Anti-Tip Bracket Kit |
| 10 | Grease |
| 10 | Wire (14 Ga. 150 c Blue) |
| 10 | WP3400832 Whirlpool Screw |
| 10 | 1 |
| 10 | Wire (14 Ga. 200 c Brown) |
| 10 | Wire (14 Ga. 150 c Brown) |
| 10 | Wire (14 Ga. 150 c Green) |
| 10 | Wire (14 Ga. 150 c Orange) |
| 10 | 18 Ga. 80~c Rating (Red) |
| 10 | Wire (14 Ga. 150 c Yellow) |
| 10 | 8212471 Whirlpool Oven Paint |
| 10 | 242831 Whirlpool Oven Wire |
| 10 | Paint, Touch-Up 1/2 Oz. (Coffee) |
| 10 | Platinum (Uncut) |
| 10 | Enamal, Toast (1 Qt. Uncut) |
| 10 | Paint, Spray (13 Oz.) (Platinum) |
| 10 | Toast |
| 10 | Golden Harvest (Uncut) |
| 10 | Golden Harvest |
| 10 | 72110 Whirlpool Dryer Touch-Up Paint, Golden Harvest 6 Oz |
| 10 | Almond (Uncut) |
| 10 | WP72107 Whirlpool Touchup |
| 10 | 799344 Whirlpool Refrigerator Paint |
| 10 | 72017 Whirlpool Appliance Touch-Up Paint White |
| 10 | 350956 Whirlpool Spray Assembly |
| 10 | WPL 72112 |
| 10 | 350942 Whirlpool Spray Paint |
| 10 | W10355051 Whirlpool Cooktop Cleaner Affresh (10 Oz) |
| 10 | Paint, Spray 13 Oz. (Avocado) |
| 10 | paint, spray 13 oz. (coffee) |
| 10 | 72109 Whirlpool Dacor Avocado Touch-Up Paint |
| 10 | 285006 Whirlpool Spray |
| 10 | Wire, 25`` Roll (White 14 GA.) |
| 10 | Wire, 25` Roll (Red 14 Ga.) |
| 10 | Wire, 25` Roll (Black 14 Ga.) |
| 10 | FOIL, ALUMINUM OVEN (18`` X 25 ) |
| 10 | WPW10208653 Whirlpool Insulation |
| 10 | WPL 799832 |
| 10 | 511873 Whirlpool Refrigerator Paint |
| 10 | 350930 Whirlpool White Spray Paint |