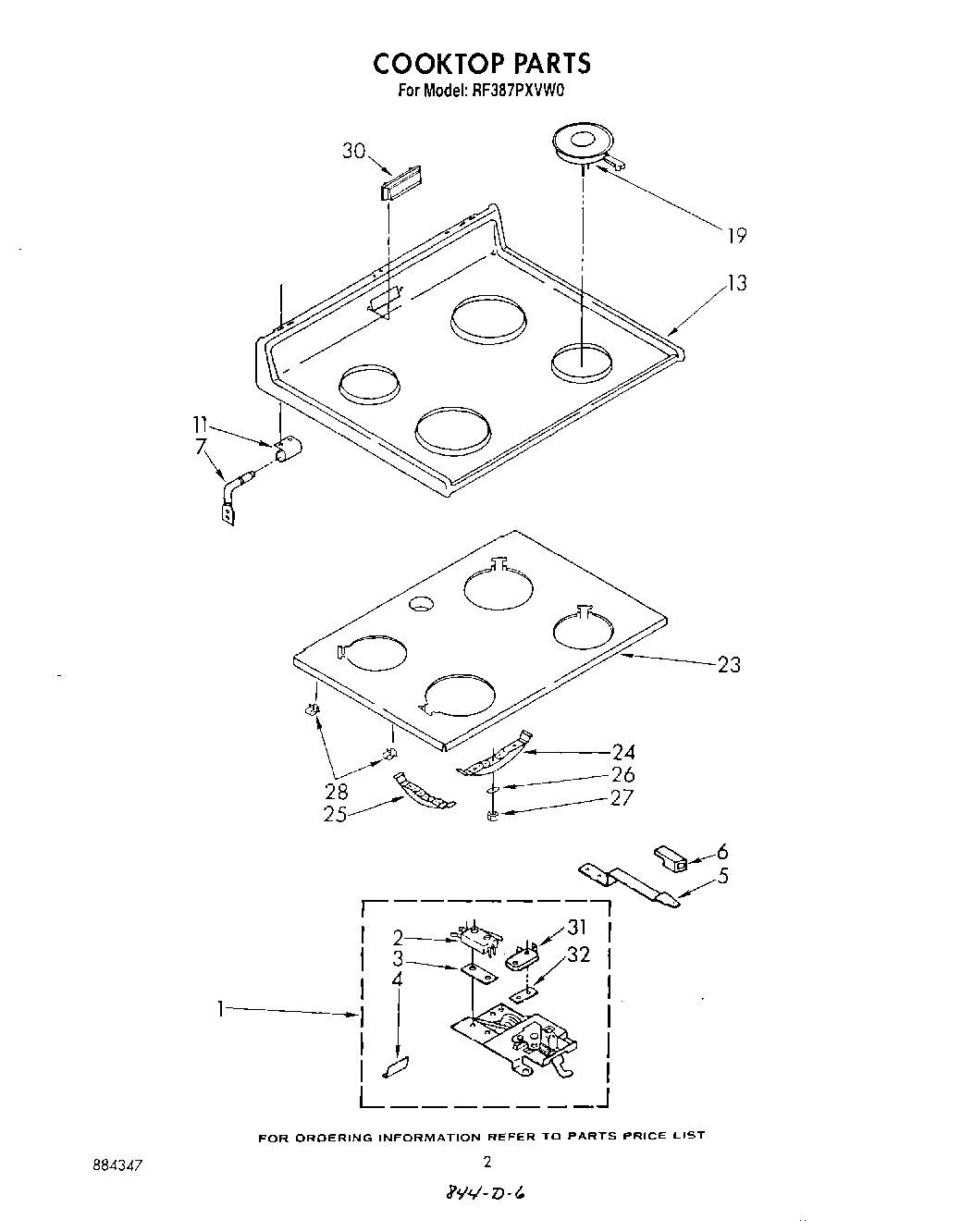
RF387PXVM0 02 – COOK TOP