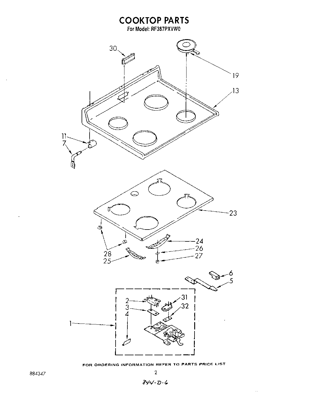
RF387PXVW0 02 – COOK TOP