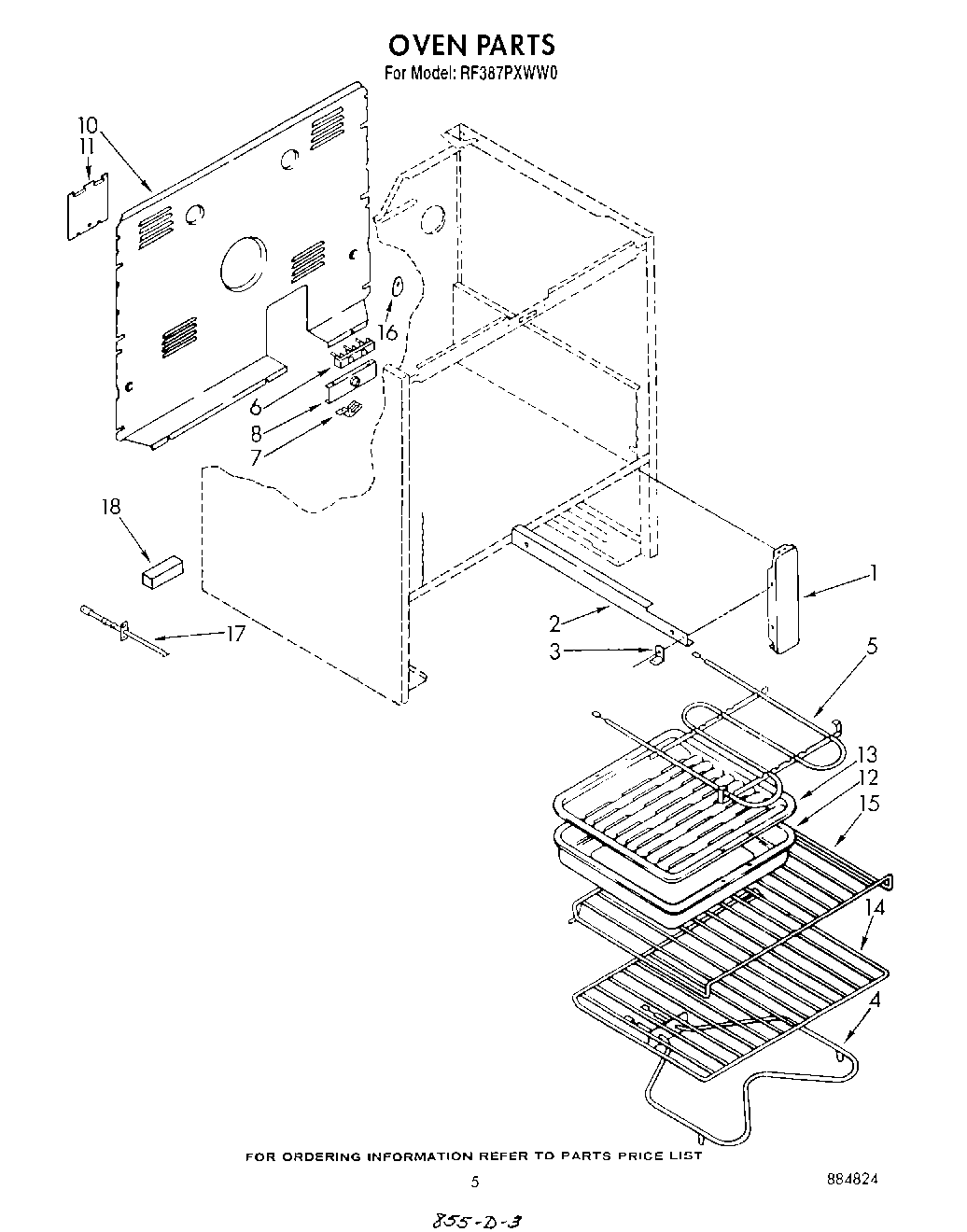
RF387PXWW0 05 – SECTION