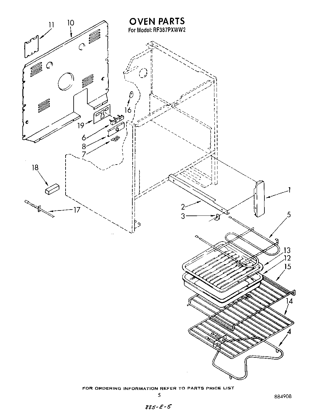
| 1 | Bracket, Mounting (2) |
| 2 | Rail L.H. (Includes Illus. 3) |
| 2 | Rail R.H. (Includes Illus. 3) |
| 3 | Glide, Front (2) |
| 4 | ELMNT-BAKE |
| 5 | Screw (2) |
| 5 | WP660579 Whirlpool Range Wall Oven Broil Element, 3000W, 240V |
| 6 | Screw, (2) 10-16 x 1 |
| 6 | WP8203546 Whirlpool Terminal Block |
| 6 | WP112432 Whirlpool Nut Assembly |
| 7 | WPL 308498 |
| 7 | Clip, Ground Wire |
| 8 | Bracket, Service |
| 10 | Cover, Rear |
| 11 | Cover, Service |
| 13 | 4396923 Whirlpool Broil Pan Set Gray Porcelain |
| 14 | WPL 308173 |
| 15 | WPL 308172 |
| 16 | Screw, 10A x 1/2 (2) (Black) |
| 16 | WPL 311982 |
| 17 | SCREW |
| 17 | Sensor, Heat |
| 18 | 340184 Whirlpool Screw |
| 18 | Block, Balance |
| 19 | Barrier, Shield |