RF395PXWW2 03 – CONTROL PANELadmin2025-04-26T12:50:09+00:00RF395PXWW2 03 – CONTROL PANEL
Products
| Position | Product |
|---|
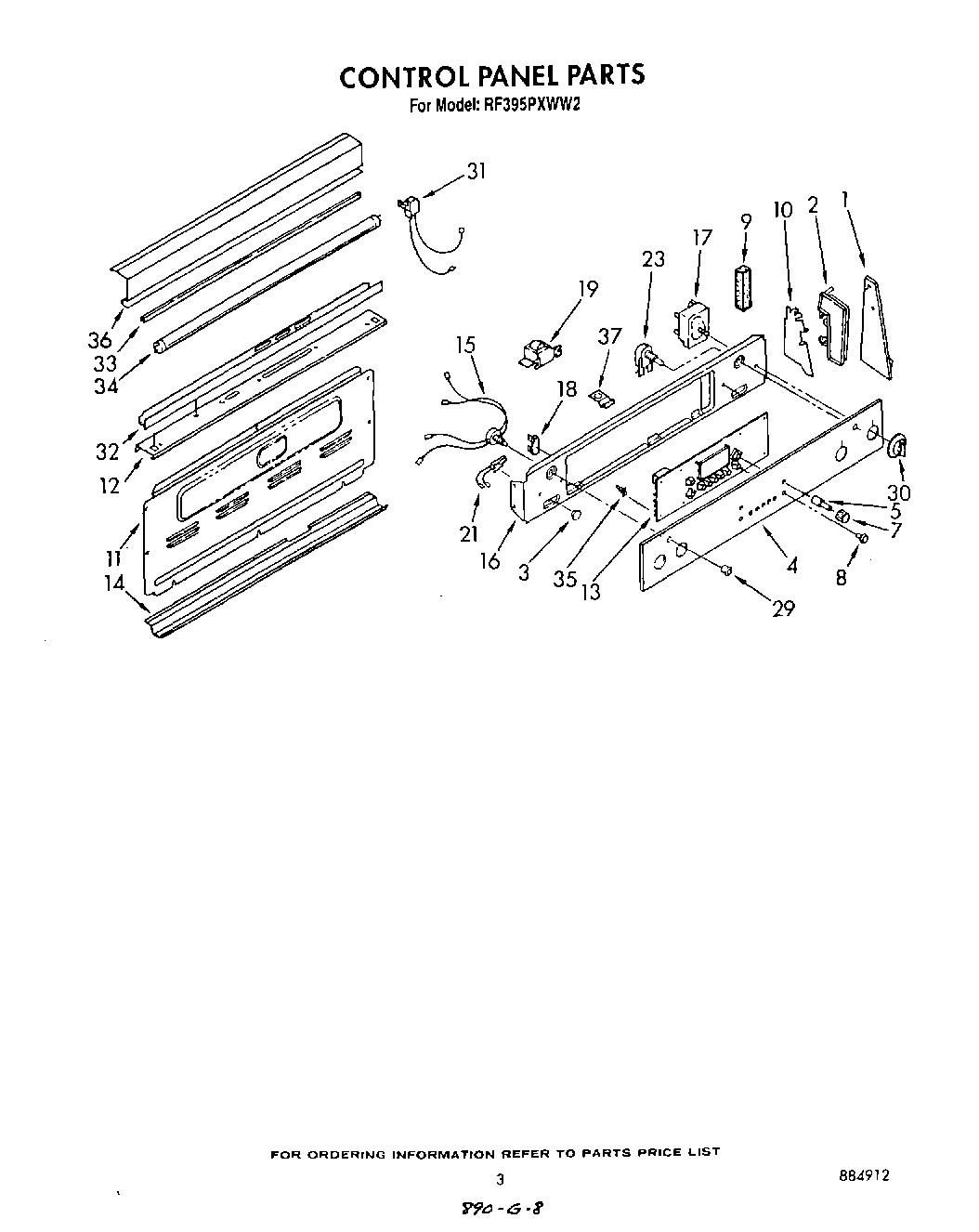
| 1 | End Trim L.H. |
| 1 | Washer |
| 2 | End Cap L.H. |
| 2 | End Cap R.H. |
| 3 | Lens (4) |
| 4 | Glass, Panel |
| 5 | Shaft, Bit Generator |
| 7 | Knob, Bit Generator (Black) |
| 8 | WPL 313958 |
| 9 | Seal, Foam (4) |
| 10 | Shield, Glass (2) |
| 10 | WP965173 Whirlpool Dishwasher Screw |
| 11 | Harness-Conduit Asm. |
| 12 | Trim, Top |
| 12 | WP313808 Whirlpool Screw |
| 13 | Control, Timer |
| 14 | Screw, |
| 14 | Bottom Trim |
| 15 | Switch, Fluorescent Light |
| 16 | Bracket, Control Panel |
| 17 | W10900107 Whirlpool Oven Surface Element Switch |
| 17 | WP486579 Whirlpool Air Conditioner Screw |
| 18 | WP3196548 Whirlpool Thermal Fuse |
| 19 | Ballast |
| 21 | Light, Indicator (Surface Unit) (2) (Includes Illus. 41) |
| 21 | Light, Indicator (Locked) |
| 23 | nut, 3/8 x 27 |
| 23 | Lockwasher |
| 23 | Switch, Oven Light |
| 29 | Bezel Switch (1) |
| 30 | SCREW |
| 30 | WP3149983 Whirlpool Knob |
| 31 | Socket, Light L.H. |
| 31 | Socket, Light R.H. |
| 32 | Backguard, Lamp |
| 33 | Protector, Lamp |
| 34 | Lamp, Fluorescent |
| 35 | WPL 313087 |
| 36 | Cover, Lamp |
| 37 | Support, Wedge |