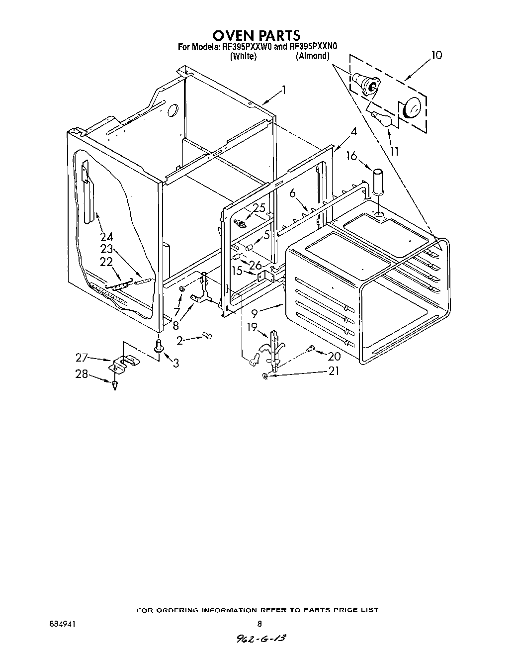
RF395PXXW0 06 – OVEN