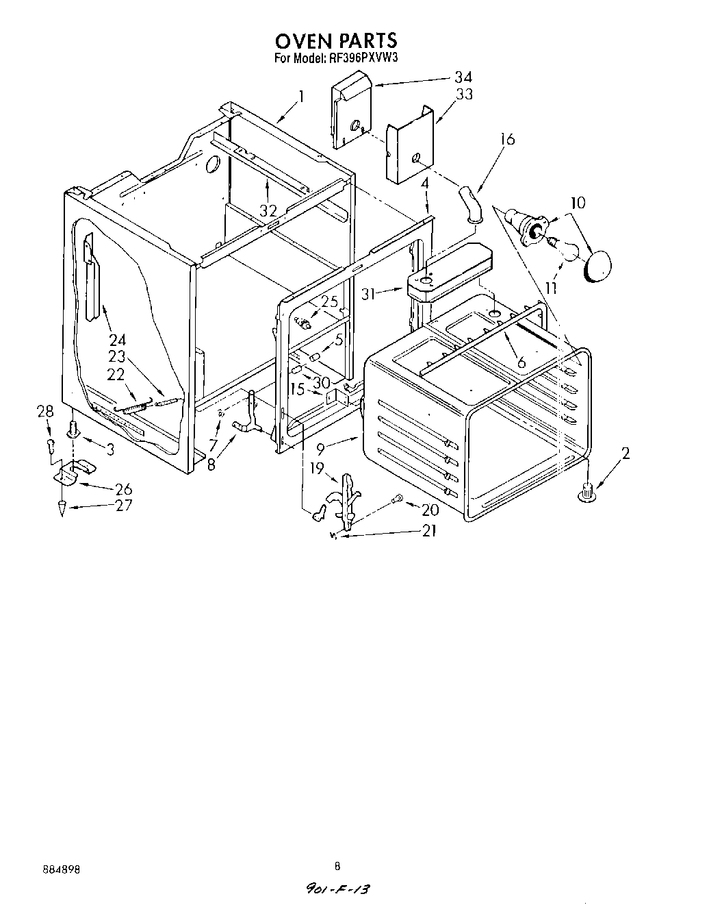
RF396PXVW3 06 – OVEN