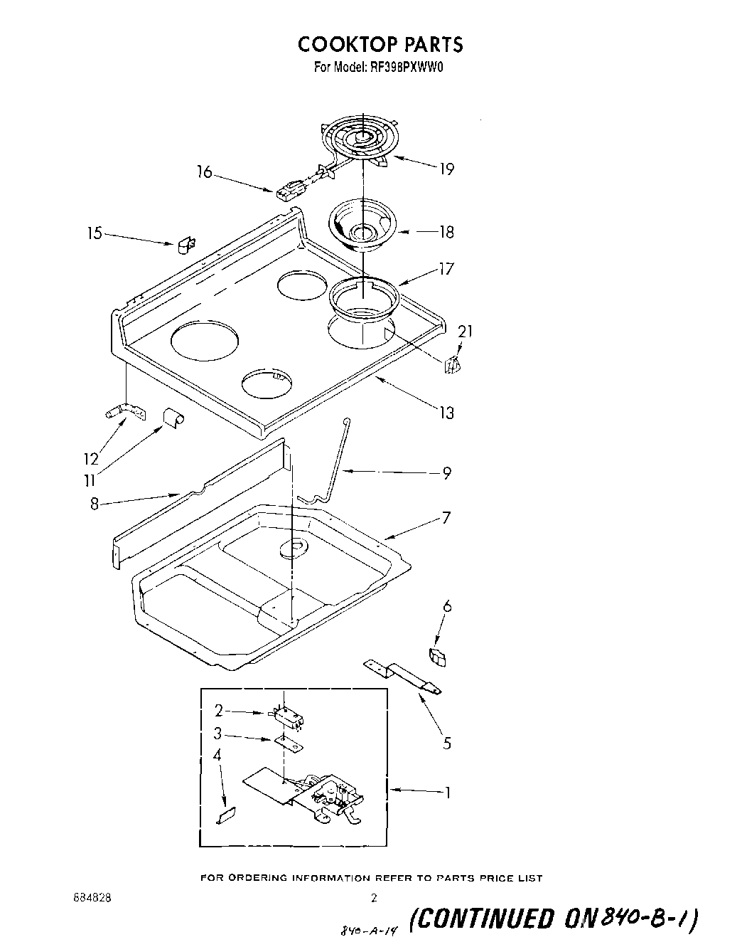
RF398PXWW0 02 – COOK TOP