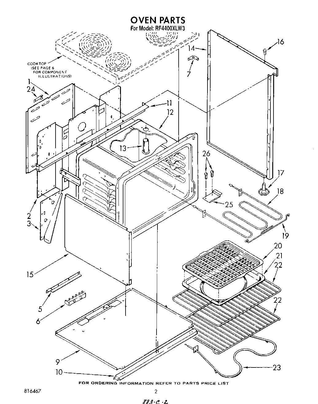
RF4400XLW3 02 – OVEN