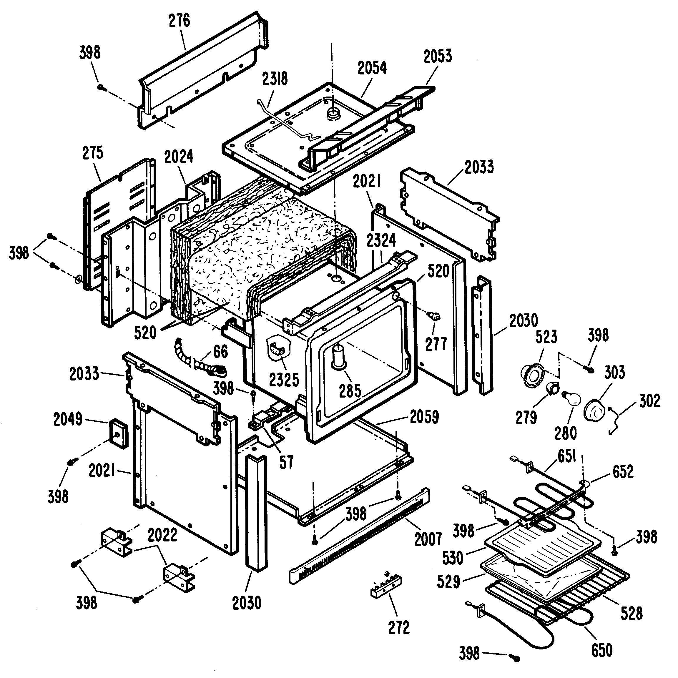
RF502GH1 1