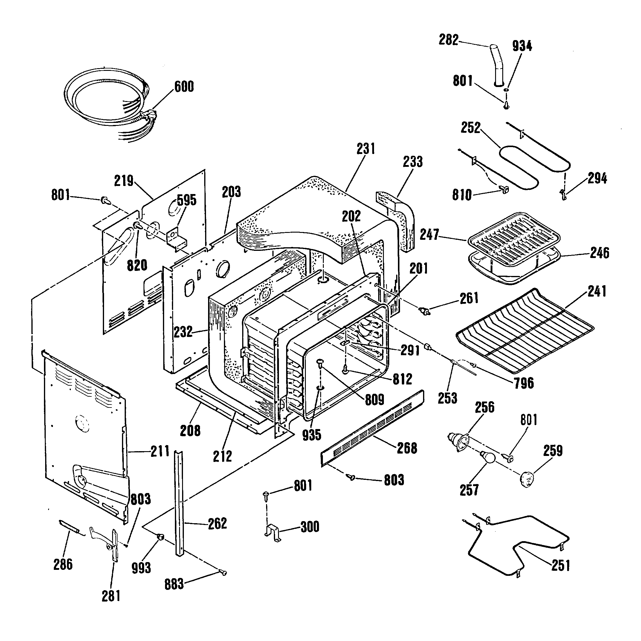
RF724GP3AD 2