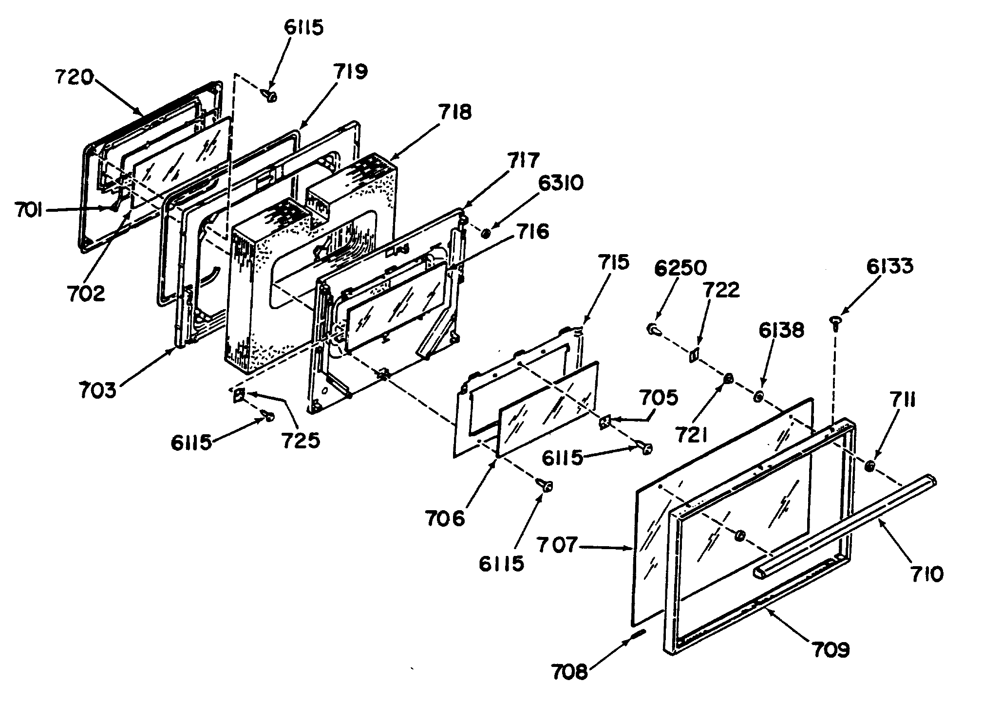
RF725GL3 4