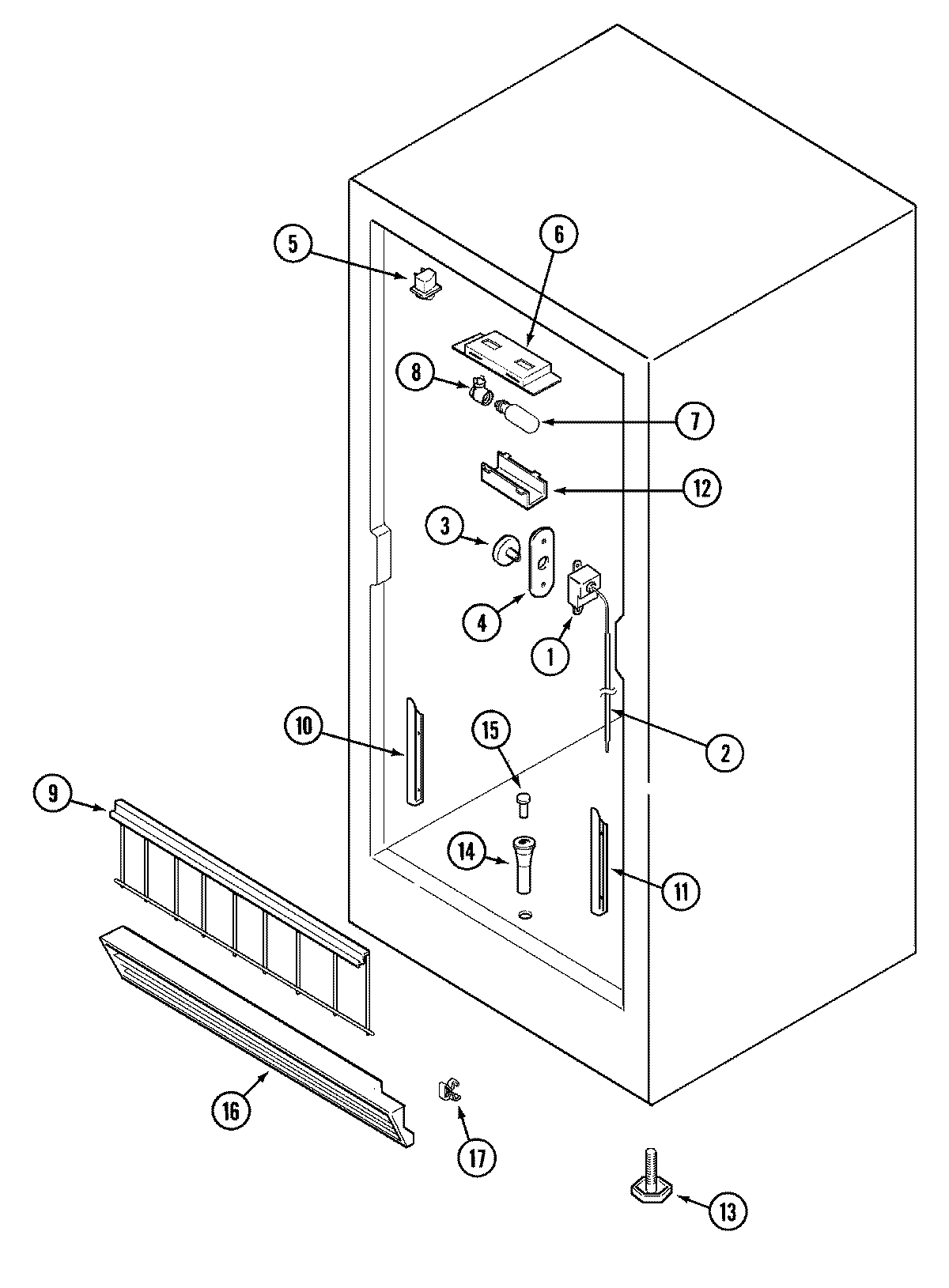
RFUA200AAW 02 – FREEZER COMPARTMENTadmin2025-04-26T08:53:31+00:00RFUA200AAW 02 – FREEZER COMPARTMENT ProductsPositionProduct1MAY 680011021MAY 680010652WP2196003 Whirlpool Refrigerator Bar Riser3MAY 680010634MAY 680010644MAY 680011925MAY 680010616MAY Y048551017MAY 680010628MAY Y045537019MAY Y091001609MAY 68001095104-80576-202 Whirlpool Refrigerator Gate Support11MAY 6800105411MAY 65587-112MAY Y0485520113W11117769 Whirlpool Refrigerator Leveler14MAY 6800112815MAY 6800110316WP4-60461-002 Whirlpool Refrigerator Grille16MAY Y09100159171-80247-101 Whirlpool Refrigerator Clip17MAY Y04637304