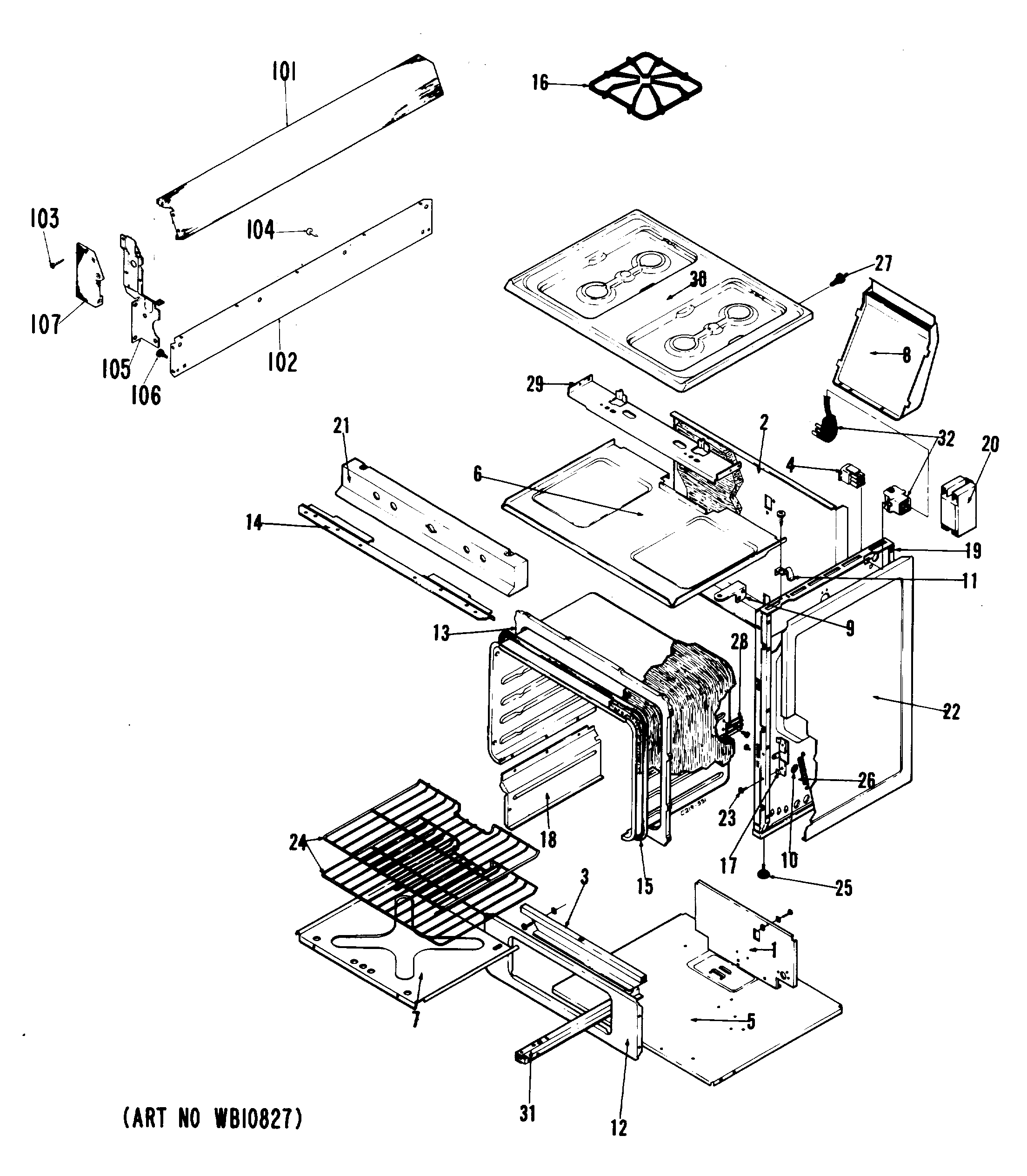
RGB524PJ3 0admin2025-04-26T10:07:07+00:00RGB524PJ3 0 ProductsPositionProduct1GEN WB56X17882GEN WB56X17913GEN WB56X17995GEN WB56X18025GEN WB53X02086GEN WB56X18037GEN WB56X18068GEN WB63X02489GEN WB02X48059GEN WB02X480610GEN WB02X480811GEN WB02X480912GEN WB63X025113GEN WB63X025214GEN WB63X025315GEN WB63X025516GEN WB32X008717GEN WB14X007517GEN WB14X007718GEN WB53X026719GEN WB53X026821GEN WB07X149121GEN WB07X149321GEN WB07X149622GEN WB63X025722GEN WB63X026022GEN WB63X033923GEN WB02X483624GEN WB48X019225GEN WB01X096728GEN WB02X486929GEN WB02X487230GEN WB62X163530GEN WB62X163830GEN WB62X163331GEN WB39X006231GEN WB39X007232GEN WB39X0073101GEN WB07X1487102GEN WB61X0296103GEN WB01X0962104GEN WB01X0964105GEN WB02X4856105GEN WB02X4854106GEN WB02X4863107GEN WB07X1499107GEN WB07X15019999GEN 39-45869999WB2X7909 GE Oven Anti-Tip Kit9999GEN WB01X09549999GEN 31-06379999GEN WB09X02269999GEN WB02X48139999GEN WB01X09699999GEN WB02X48499999GEN WB02X48239999GEN WB02X48199999GEN WB02X48159999GEN WB02X48679999GEN WB02X48769999GEN WB02X48529999GEN WB49X05849999GEN WB56X18009999GEN WB49X05869999GEN WB09X0225