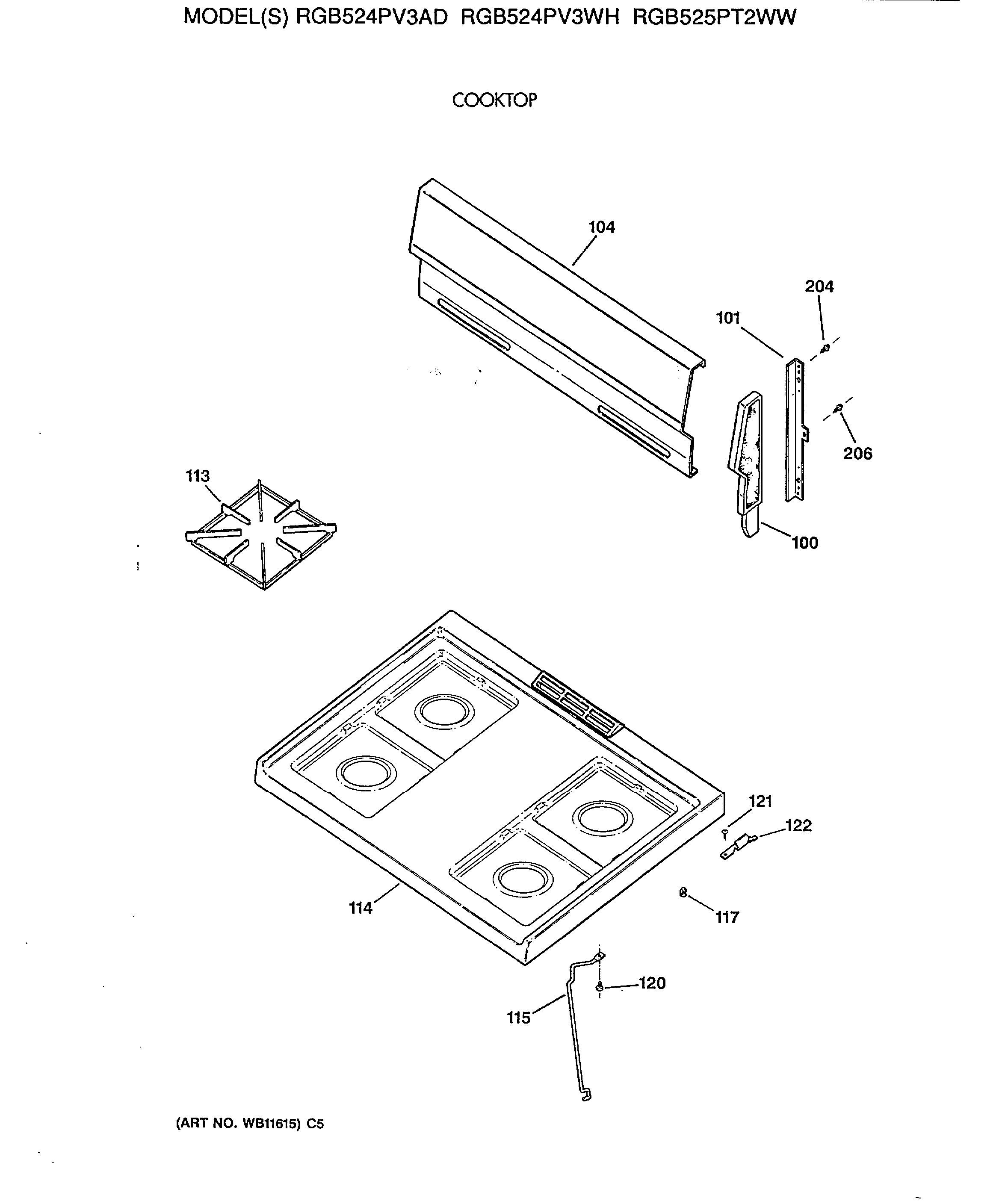
RGB525PT2WW COOKTOP