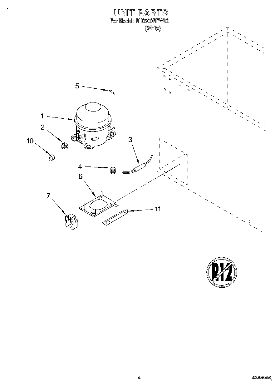
| 1 | Compressor (Includes Items 2, 3, 4, 5, 7 & 8) |
| 2 | Relay |
| 3 | W10843121 Whirlpool Refrigerator Tube |
| 4 | Grommet, Mounting Compressor |
| 5 | Clip, Hitch Pin |
| 6 | Base, Compressor |
| 7 | WP2162358 Whirlpool Refrigerator Terminal Cover |
| 10 | Overload |
| 11 | 3-81556-001 Whirlpool Brace |