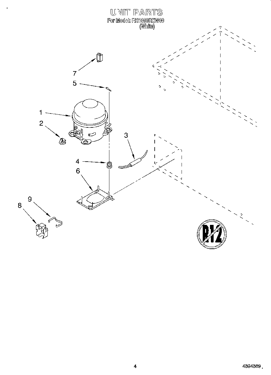
RH1099REW00 03 – SECTIONadmin2025-04-26T08:51:40+00:00RH1099REW00 03 – SECTION ProductsPositionProduct1Compressor (Includes Items 2, 3, 4, 5, 8 & 9)2Relay3W10843121 Whirlpool Refrigerator Tube4Grommet, Mounting Compressor5Clip, Hitch Pin6Base, Compressor7WPW10662129 Whirlpool Refrigerator Run Capacitor8Cover9Clip, Cover