| Use & Care Guide |
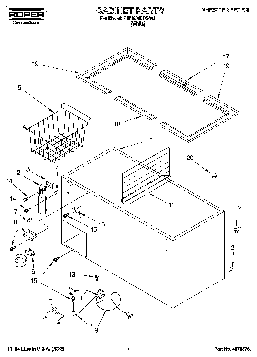
| 1 | Cabinet (Not A Serviceable Part) |
| 2 | 4356490 Whirlpool Refrigerator Door Hinge |
| 3 | 1-17548-006 Whirlpool Refrigerator Spacer |
| 4 | 4356321 Whirlpool Refrigerator Grommet |
| 5 | Wire Basket |
| 6 | Thermostat |
| 7 | Thermostat, Knob |
| 8 | Thermostat, Control Bracket |
| 9 | Wiring, Harness External |
| 10 | 488946 Whirlpool Air Conditioner Clamp |
| 11 | Divider |
| 12 | W11663505 Whirlpool Hose Adapter |
| 13 | Screw |
| 14 | 4356491 Whirlpool Refrigerator Screw |
| 15 | SCREW |
| 17 | 4-35011-004 Whirlpool Refrigerator Breaker Trim |
| 18 | 4-35010-004 Whirlpool Breaker Trim |
| 19 | W11045300 Whirlpool Refrigerator Trim Bracket |
| 20 | Drain Plug |
| 21 | Drain, Plug |
| 21 | Rivet Kit (60) |
| 21 | 350942 Whirlpool Spray Paint |
| 21 | 799344 Whirlpool Refrigerator Paint |
| 21 | 72017 Whirlpool Appliance Touch-Up Paint White |