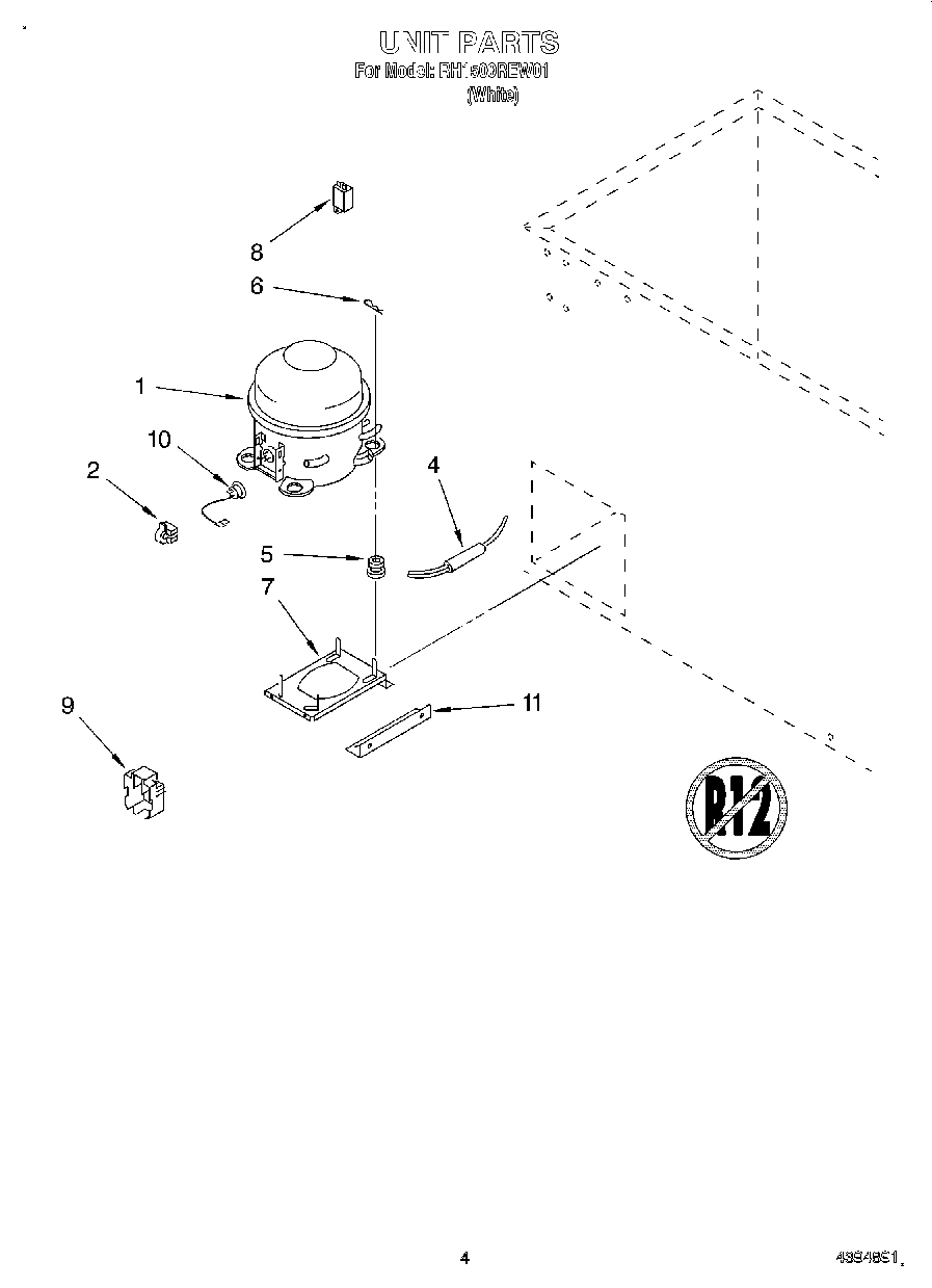
RH1500REW01 03 – SECTIONadmin2025-04-26T08:51:40+00:00RH1500REW01 03 – SECTION ProductsPositionProduct1Compressor (Includes Items 2, 3, 4, 5, 6 & 9)2Relay4W10843121 Whirlpool Refrigerator Tube5Grommet, Mounting Compressor6Clip, Hitch Pin7Base, Compressor8Capacitor9Cover10Overload113-81556-001 Whirlpool Brace