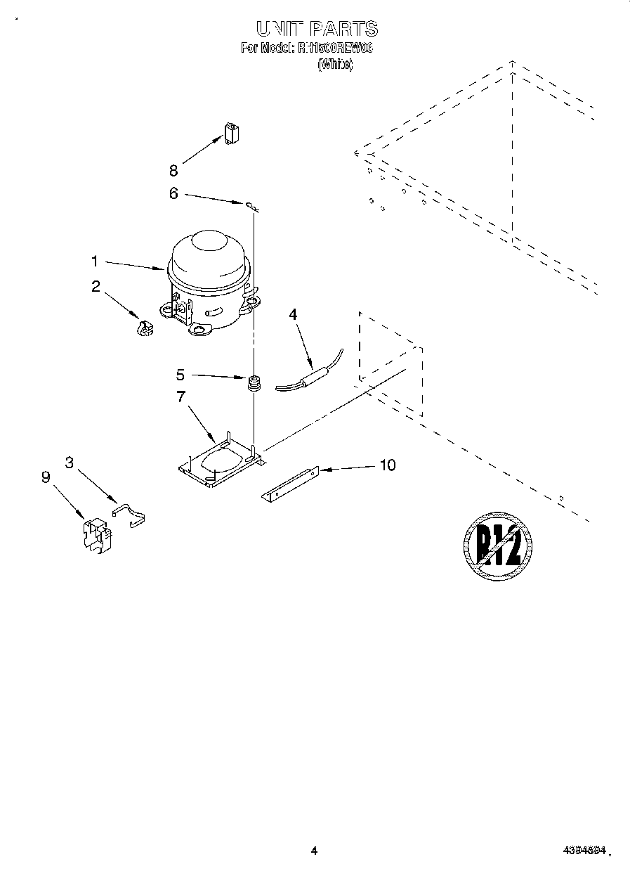
| 1 | Compressor (Includes Items 2, 3, 4, 5, 6 & 9) |
| 2 | Relay |
| 3 | Clip, Cover |
| 4 | W10843121 Whirlpool Refrigerator Tube |
| 5 | Grommet, Mounting Compressor |
| 6 | Clip, Hitch Pin |
| 7 | Base, Compressor |
| 8 | WPW10662129 Whirlpool Refrigerator Run Capacitor |
| 9 | Cover |
| 10 | 3-81556-001 Whirlpool Brace |