| List, Repair Parts |
| Instructions, Installation & Operating |
| Order Blank, Filter |
| Wiring Diagram |
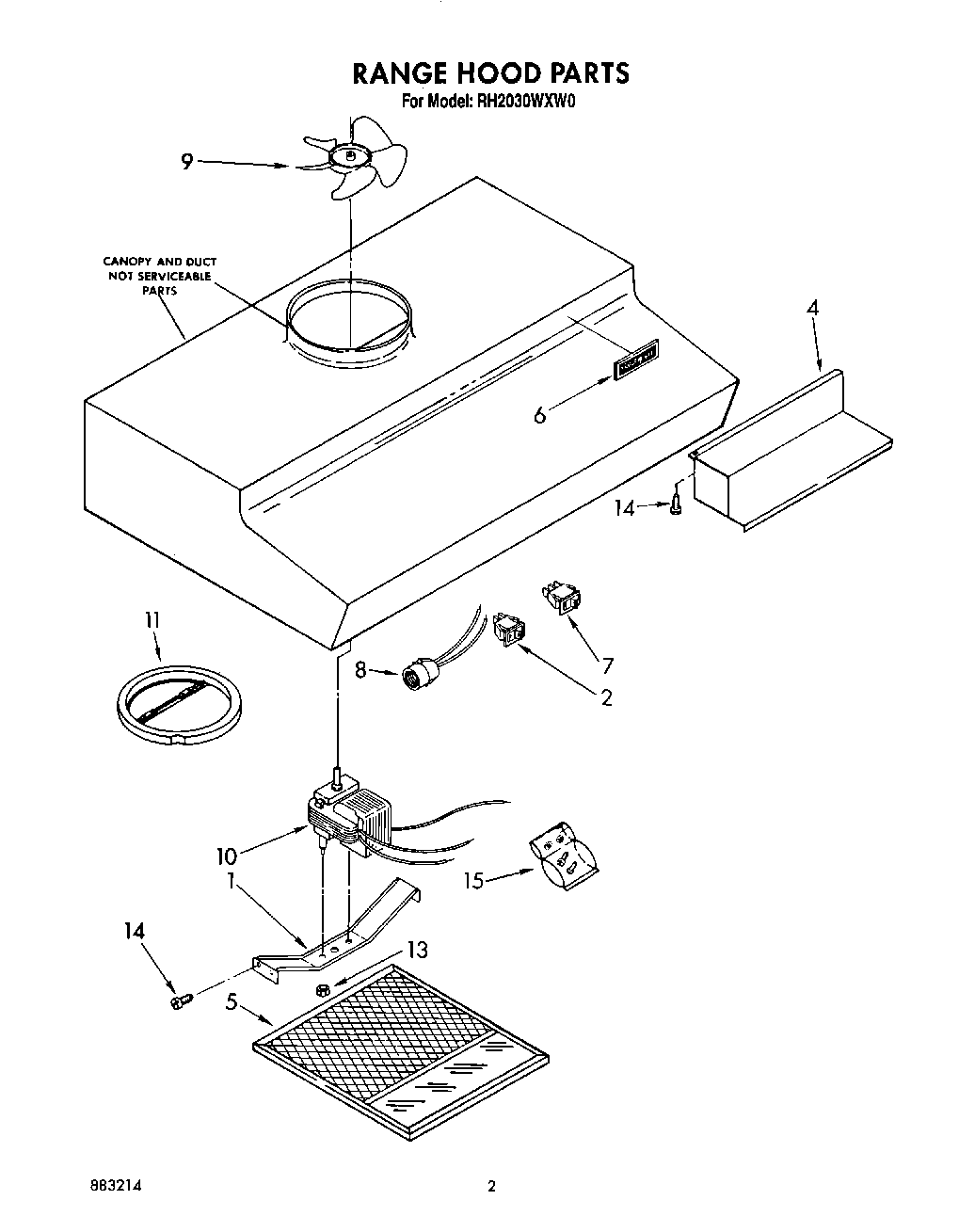
| 1 | Bracket, Motor |
| 2 | W10673703 Whirlpool Rocker Switch |
| 2 | Switch, Light (White) |
| 4 | Cover, Wiring (Stainless Steel) |
| 4 | Cover, Wiring (Almond) |
| 4 | Cover, wiring (White) |
| 5 | WP8190232 Whirlpool Refrigerator Light Lens and Filter |
| 6 | Nameplate (Black) |
| 6 | Nameplate (White) |
| 7 | Switch, Fan (Black Model) |
| 8 | Receptacle, Light |
| 9 | Blade, Fan |
| 10 | Motor, 2-Speed |
| 11 | Damper Assembly |
| 13 | WP488130 Whirlpool Air Conditioner Nut |
| 14 | WP489069 Whirlpool Compactor Screw |
| 15 | Installation, Hardware |