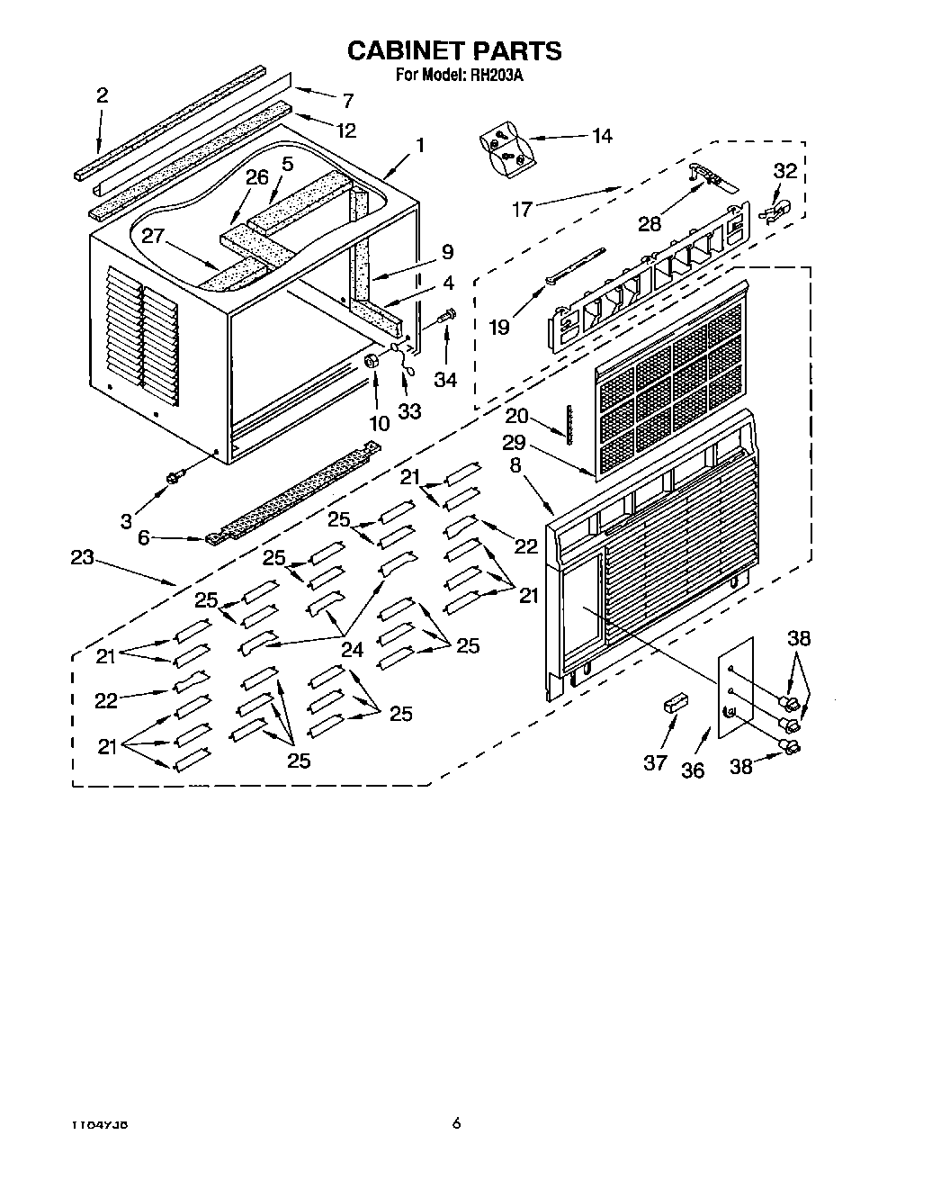
| 1 | Cabinet (Includes Insulation) |
| 2 | Gasket, Meeting Rail |
| 3 | WP489069 Whirlpool Compactor Screw |
| 4 | Insulation, Cabinet Side (2) |
| 5 | Insulation, Cabinet |
| 6 | Seal |
| 7 | Angle, Top Mounting |
| 8 | Cabinet Front |
| 9 | Insulation, Cabinet Side (2) |
| 10 | WP486255 Whirlpool Air Conditioner Nut |
| 12 | Seal, Top Mounting Angle |
| 14 | Bag, Accessory |
| 17 | Vertical, Louver |
| 19 | Link, Vertical Louver (2) |
| 20 | Link, Horizontal Louver (5) |
| 21 | Louver, Horizontal (10) |
| 22 | Horzontal Louver W/ Handle (2) |
| 23 | Front, Complete |
| 24 | Louver, Horizontal W/Handles (3) |
| 25 | Louver, Horizontal (15) |
| 26 | Insulation, Cabinet |
| 27 | Insulation, Cabinet |
| 28 | Louver, Actuator |
| 29 | Filter |
| 32 | Detent Spring (2) |
| 33 | Wire, Ground |
| 34 | WP488234 Whirlpool Air Conditioner Screw |
| 36 | Plate, Escutcheon |
| 37 | Spacer, Escutcheon Plate (3) |
| 38 | Knobs, (3) |