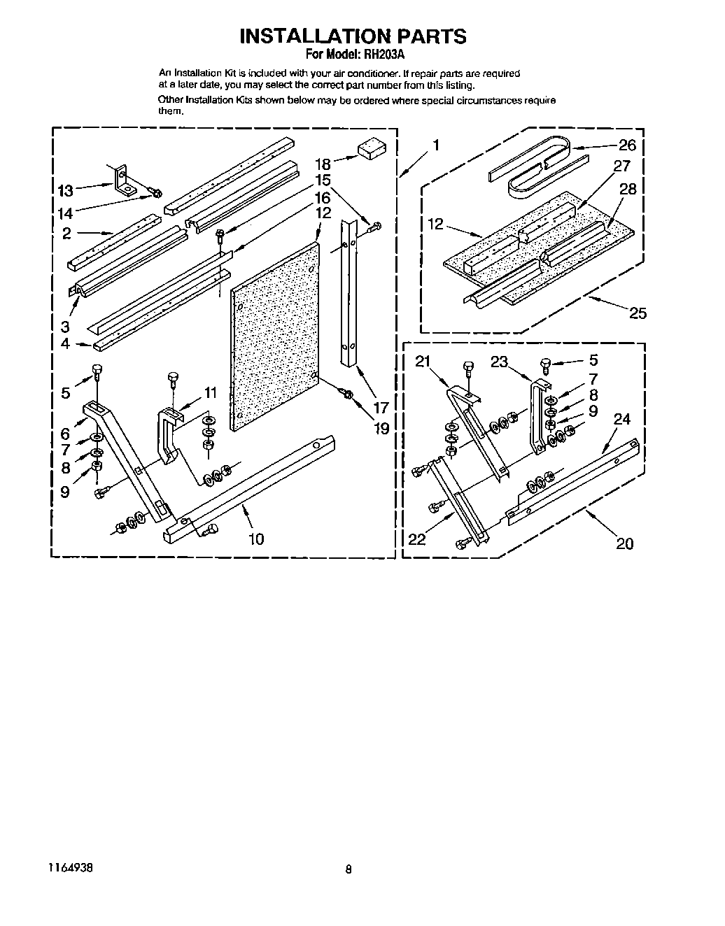
RH203A 06 – INSTALLATION