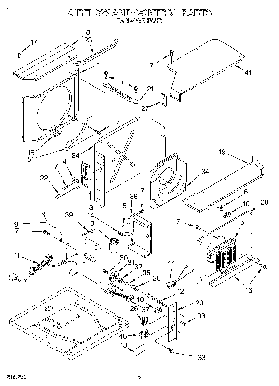
RH203F0 03 – AIRFLOW AND CONTROLadmin2025-04-26T08:52:04+00:00RH203F0 03 – AIRFLOW AND CONTROL
Products
| Position | Product |
|---|
| 1 | Shroud, Condenser |
| 2 | Heating, Element |
| 3 | Door, Air (2) |
| 4 | Spring, Door (2) |
| 5 | WP488787 Whirlpool Refrigerator Screw |
| 6 | Fuse Link Asy |
| 7 | WP489069 Whirlpool Compactor Screw |
| 8 | Top, Condenser |
| 9 | Wire, Ground |
| 10 | Switch, Limit |
| 11 | Cable, Appliance |
| 12 | Control, Shaft |
| 13 | Capacitor |
| 14 | Bracket, Capacitor |
| 15 | Seal, Condensate Cup |
| 16 | Sheild, Heat |
| 17 | Clip, Shroud (2) |
| 19 | Evap. Shroud Top |
| 20 | Panel, Control |
| 21 | Support, Unit (2) |
| 22 | Wire, Control Exhaust |
| 23 | Seal, Shroud |
| 24 | Dividing Wall |
| 26 | Switch Rotary |
| 27 | Seal, Anti-Rub |
| 28 | Shroud Assembly, Evaporator |
| 30 | Screw, 7-18 x 5/8 |
| 31 | Cam, Exhaust |
| 32 | Bushing, Shaft |
| 33 | Screw, 6-32 x .175 |
| 34 | Housing, Air |
| 35 | Washer |
| 36 | Shaft, Control Exhaust |
| 37 | Harness, Wiring - Control Box |
| 38 | Control Box (R.S.) |
| 39 | Control Box (L.S.) |
| 40 | Control, Temp. |
| 41 | Cover, Top |
| 43 | Spacer |
| 44 | Harness, Heater |
| 46 | Control, Temperature |
| 51 | Cup, Condensate |