| Installation & Operating Instructions |
| Order Blank, Filter |
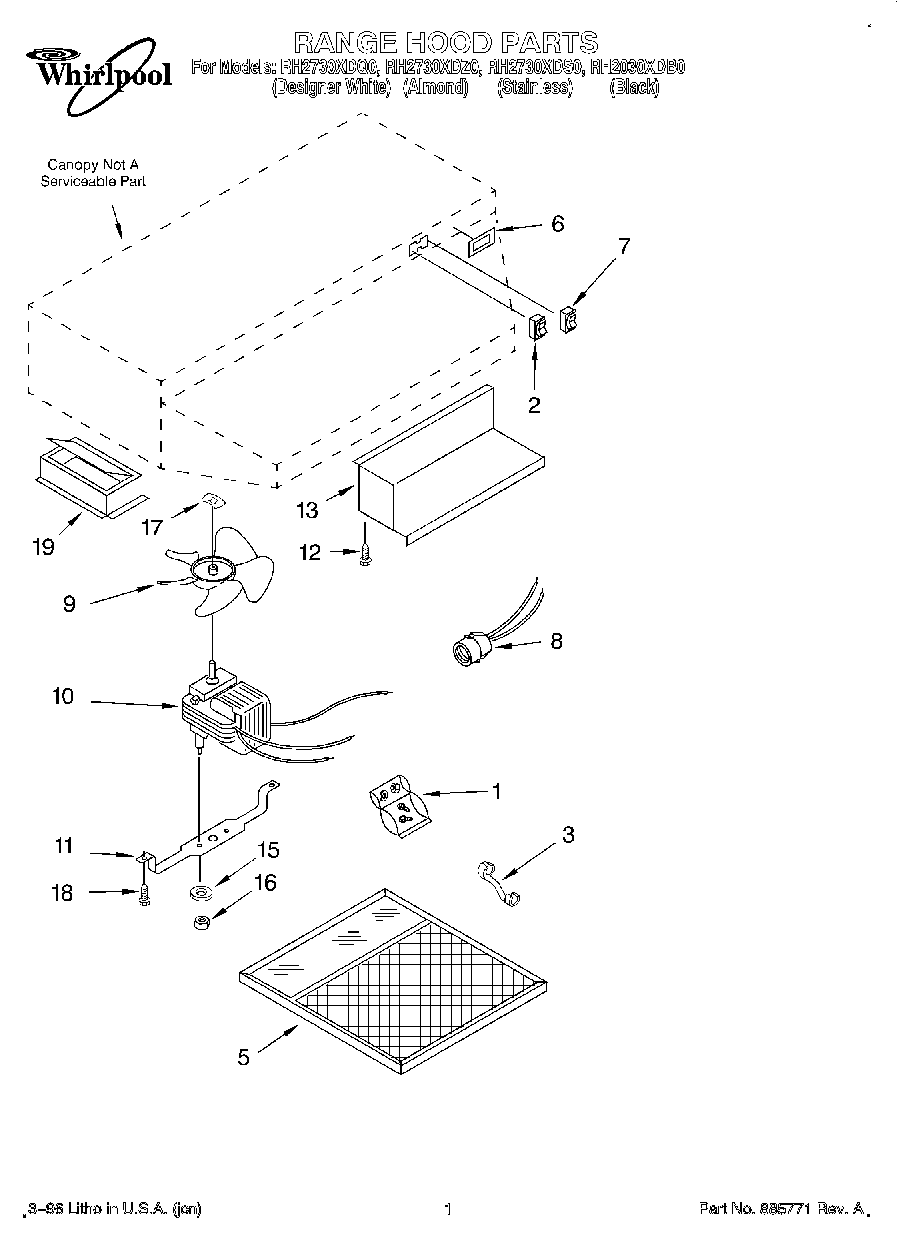
| 1 | Installation, Hardware |
| 2 | Switch, Light (White Model) |
| 2 | Switch, Light (Almond Model) |
| 3 | Bushing |
| 5 | WP8190232 Whirlpool Refrigerator Light Lens and Filter |
| 6 | Nameplate (Black Model) |
| 6 | Nameplate (Stainless Model) |
| 6 | Nameplate (Almond Model) |
| 6 | Nameplate (White) |
| 7 | Switch, Fan |
| 7 | Switch, Fan (Almond Model) |
| 7 | W10673703 Whirlpool Rocker Switch |
| 8 | Receptacle, Light |
| 9 | Blade, Fan |
| 10 | Motor, 2-Speed |
| 11 | Bracket, Motor |
| 12 | WP489069 Whirlpool Compactor Screw |
| 13 | Cover, Wiring (Stainless Steel) |
| 13 | Cover, Wiring (Almond) |
| 13 | Cover, wiring (White) |
| 15 | Washer, No. 8 (2) |
| 16 | WP486255 Whirlpool Air Conditioner Nut |
| 17 | Retainer (1) |
| 18 | Screw, 8 x 1/4 (2) |
| 19 | Damper Assembly |