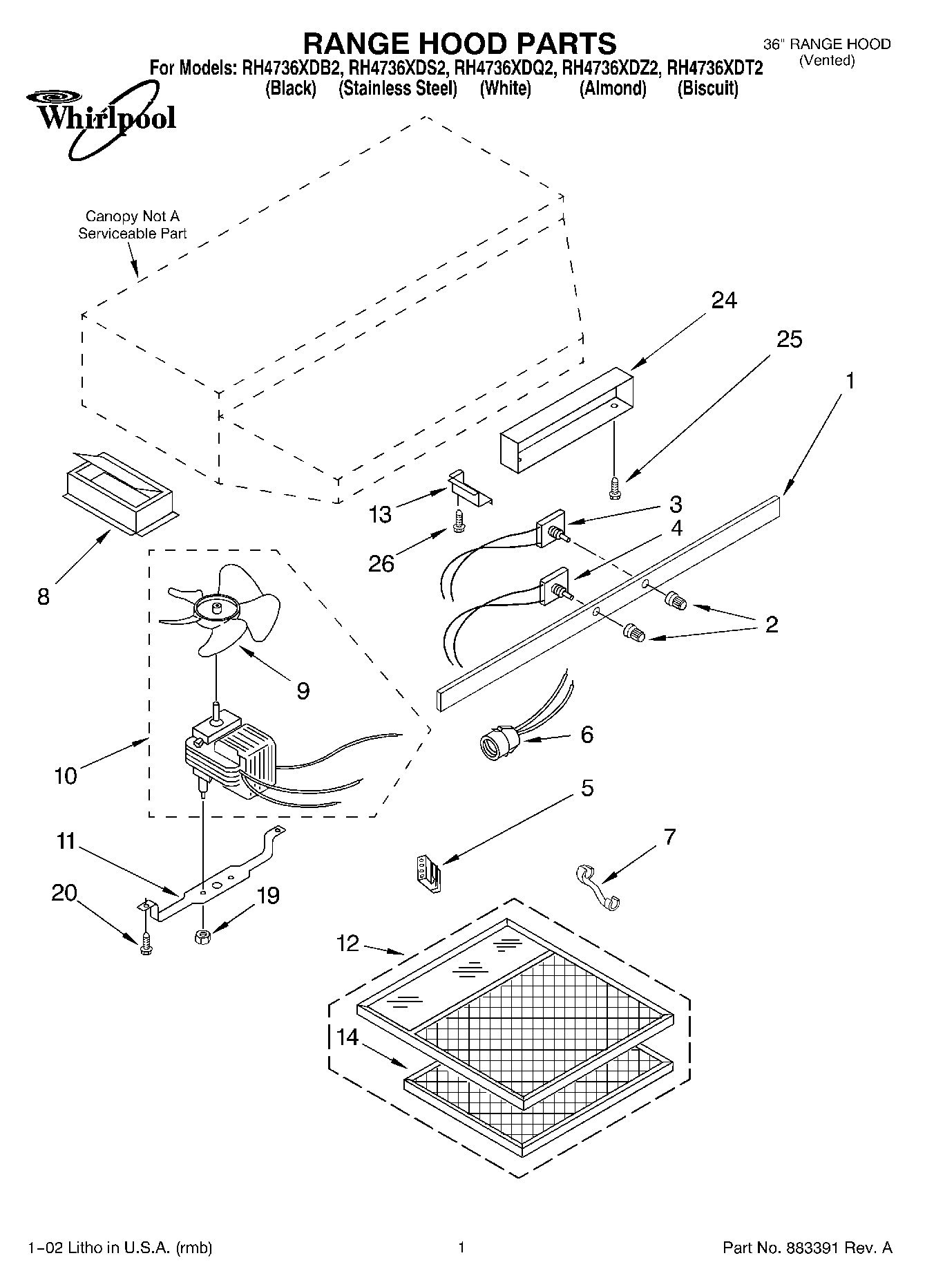
RH4736XDQ2 01 – SECTION