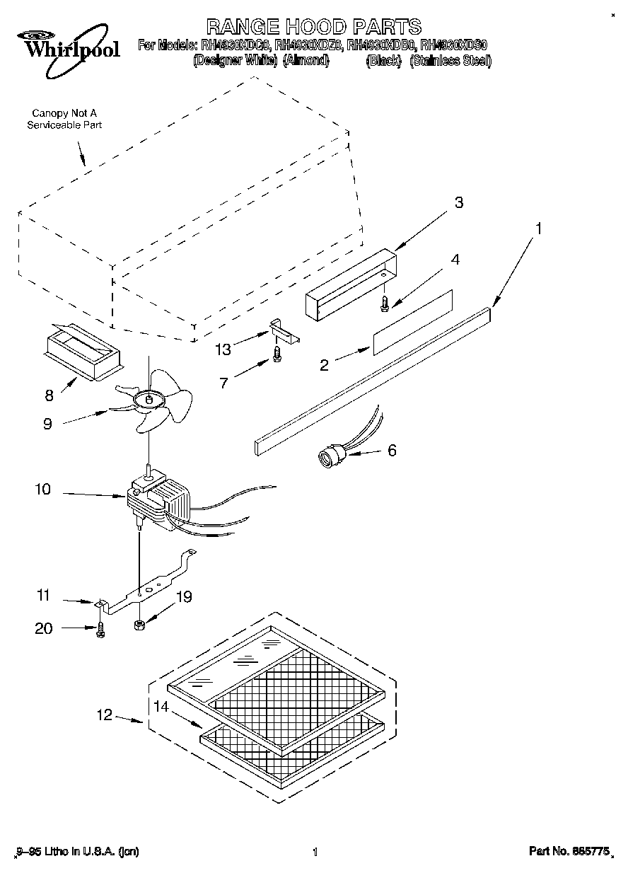
RH4930XDB0 01 – SECTION