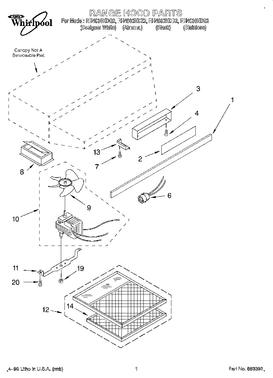
RH4930XDQ2 01 – SECTION