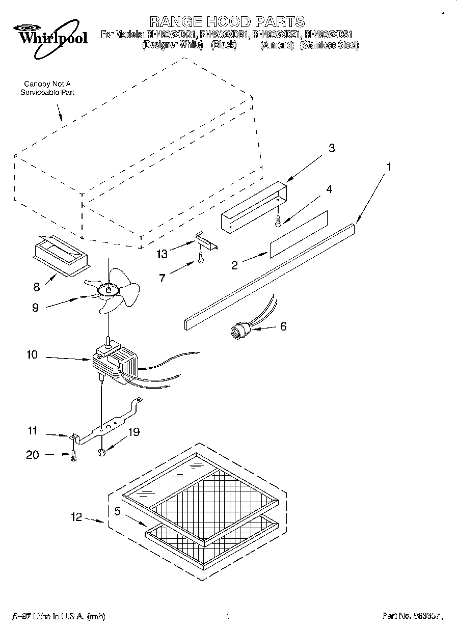
RH4936XDS1 01 – SECTION