| Order Blank, Filter |
| Instructions, Installation Operating |
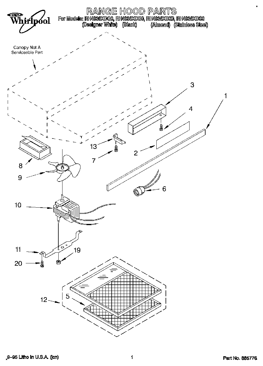
| 1 | Switch Membrane (Stainless Model) |
| 1 | Switch Membrane (Black Model) |
| 1 | Switch Membrane (Almond Model) |
| 1 | Switch Membrane (White Model) |
| 2 | Microcomputer |
| 3 | Cover, Switch (White) |
| 4 | WP486579 Whirlpool Air Conditioner Screw |
| 5 | Pad, Charcoal (Replacement, Package Of 3) |
| 6 | Receptacle, Light |
| 7 | WP489069 Whirlpool Compactor Screw |
| 8 | Damper Assembly |
| 9 | Blade, Fan |
| 10 | Motor, 2-Speed |
| 11 | Bracket, Motor |
| 12 | WP8190232 Whirlpool Refrigerator Light Lens and Filter |
| 13 | Cover, wiring (White) |
| 19 | WP488130 Whirlpool Air Conditioner Nut |
| 20 | Screw, 8 x 1/2 (4) |