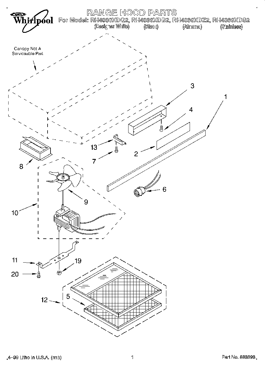
RH4936XDZ2 01 – SECTION