| Instructions, Installation & Operating |
| Repair Parts List |
| Order Blank, Filter |
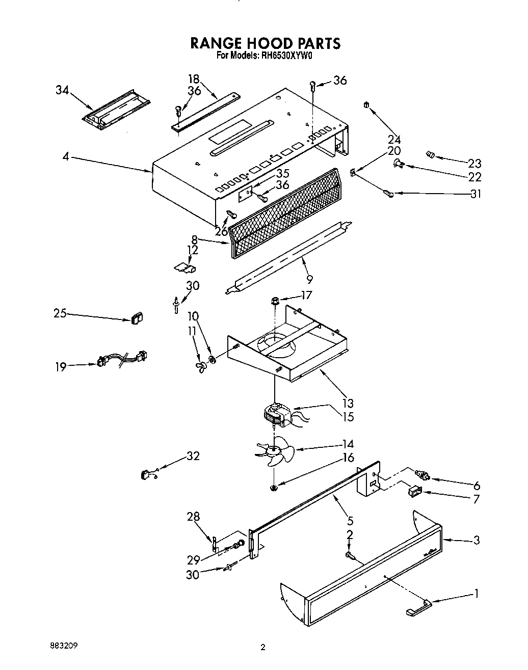
| 1 | Handle Assembly (Includes Illus. 27, 30 & 31) |
| 2 | WP486579 Whirlpool Air Conditioner Screw |
| 3 | Panel, Face (Includes Illus. 1) |
| 4 | Top Assembly (Not Serviceable) |
| 5 | Front Assembly (Includes Illus. 28, 29 & 30) |
| 6 | Switch, Pushbutton |
| 7 | W10673703 Whirlpool Rocker Switch |
| 8 | Filter |
| 9 | Support, Filter |
| 10 | Washer |
| 11 | W10080180 Whirlpool Nut |
| 12 | Bracket, Front Support |
| 13 | Fan Box Assembly |
| 14 | Blade, Fan |
| 15 | Motor, 2-Speed |
| 16 | Retainer, 3/16 |
| 17 | WP488130 Whirlpool Air Conditioner Nut |
| 18 | Vent Cover, Ductless |
| 19 | Dual Plug Assembly |
| 20 | Nut, Spring (10-24) |
| 22 | Switch, Thermal |
| 23 | Bushing, Strain Relief |
| 24 | Clip, ``U`` |
| 25 | Receptacle, Motor Wire |
| 26 | Screw, Ground |
| 28 | Spring |
| 29 | Rivet, Nylon |
| 30 | Rivet, Pop (8) |
| 31 | Screw, Thumb 6-32 (2) |
| 32 | Receptacle Assembly |
| 34 | Damper Assembly |
| 35 | Cover, Wiring Box |
| 36 | WP489069 Whirlpool Compactor Screw |
| 36 | Connector, Wire |
| 36 | Clip, `T` (4) |