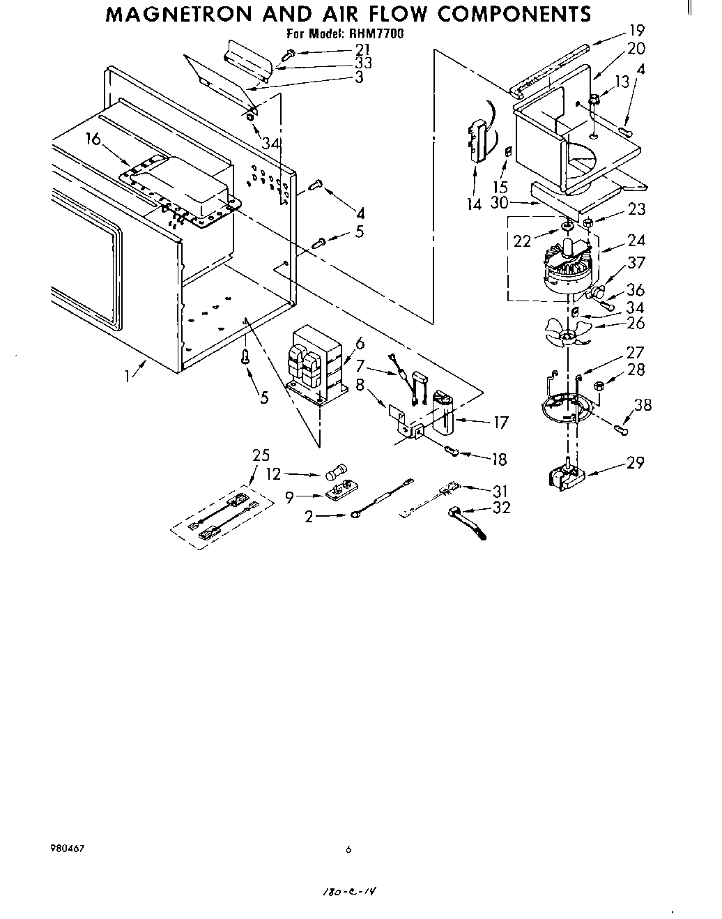
| 1 | Cabinet (Not A Serviceable Part) |
| 2 | Varistor Assembly |
| 3 | Deflector, Air |
| 4 | panel, top (screw, 10a x 3/8 (3)) |
| 6 | Transformer |
| 7 | Rectifier, High Voltage (Includes Illus. 15) |
| 8 | Bracket, Capacitor |
| 9 | Block, Fuse |
| 12 | WPW10017410 Whirlpool Fuse |
| 13 | Bushing, Wire |
| 14 | Relay, Reed |
| 15 | Clip (4) |
| 16 | Guide, Wave (Riveted At Assembly, Not Serviceable) |
| 17 | Capacitor |
| 18 | Main Chassis (Screw, 10-32 x 1/2) |
| 19 | WP854334 Whirlpool Air Conditioner Sealing Strip |
| 20 | Duct, Cooling Air |
| 21 | WP965173 Whirlpool Dishwasher Screw |
| 22 | Gasket, Magnetron (Use W/Panasonic Magnetron) |
| 22 | Gasket, Magnetron (Use W/Litton Magnetron) |
| 23 | WP112432 Whirlpool Nut Assembly |
| 23 | Flange Nut (4) |
| 24 | Magnetron Kit, Panasonic |
| 25 | Wire Kit, High Voltage (Magnetron) |
| 26 | Blade, Fan |
| 27 | Mount, Fan Motor |
| 28 | Nut, Hex (6-32) |
| 29 | Motor, Fan |
| 30 | Spacer (2 Req) |
| 31 | Wire, High Voltage (Capacitor) |
| 32 | WPW10339879 Whirlpool Wire Tie |
| 33 | Deflector, Exhaust |
| 34 | Clip (2) |
| 36 | Screw |
| 37 | Thermostat |
| 38 | WP90767 Whirlpool Screw |