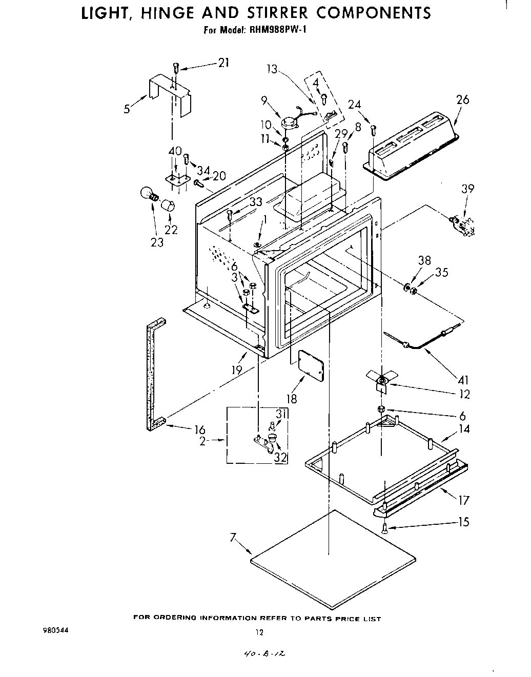
RHM988PW1 07 – LIGHT, HINGE AND STIRRERadmin2025-04-26T12:06:33+00:00RHM988PW1 07 – LIGHT, HINGE AND STIRRER
Products
| Position | Product |
|---|
| 1 | Washer |
| 2 | WPL 328127 |
| 2 | Hinge, Door (Top) |
| 3 | Plate, Hinge |
| 4 | WP965173 Whirlpool Dishwasher Screw |
| 5 | Shield, Lamp |
| 6 | Nut, Hex (1/4-20) |
| 7 | Base, Ceramic (Install W/Silastic No. 482338) |
| 9 | Motor, Stirrer |
| 10 | Washer, Internal Lock |
| 12 | Stirrer, 3-Blade |
| 13 | Fuse, Thermal |
| 14 | Cover, Stirrer |
| 15 | Screw, 10 x 2 |
| 16 | Seal, Light |
| 17 | Cover, Front |
| 18 | Shield, Exhaust Probe |
| 19 | Base & Cavity Assembly (Not Serviceable) |
| 20 | Main Chassis (Screw, 10-32 x 1/2) |
| 21 | panel, top (screw, 10a x 3/8 (3)) |
| 22 | Socket, Snap-In |
| 23 | RANGE ONLY 40W 120V APPL BULB |
| 24 | WP487353 Whirlpool Refrigerator Screw |
| 26 | Baffle, Air Exhaust |
| 29 | Fastener, Slide |
| 31 | Pin, Hinge |
| 32 | Bushing |
| 33 | WP308685 Whirlpool Microwave Screw |
| 34 | Screw, 10-32 x 1/2 |
| 35 | Nut |
| 38 | Washer |
| 39 | Jack, Probe |
| 40 | Oven Burner Support |
| 41 | Meat Probe |