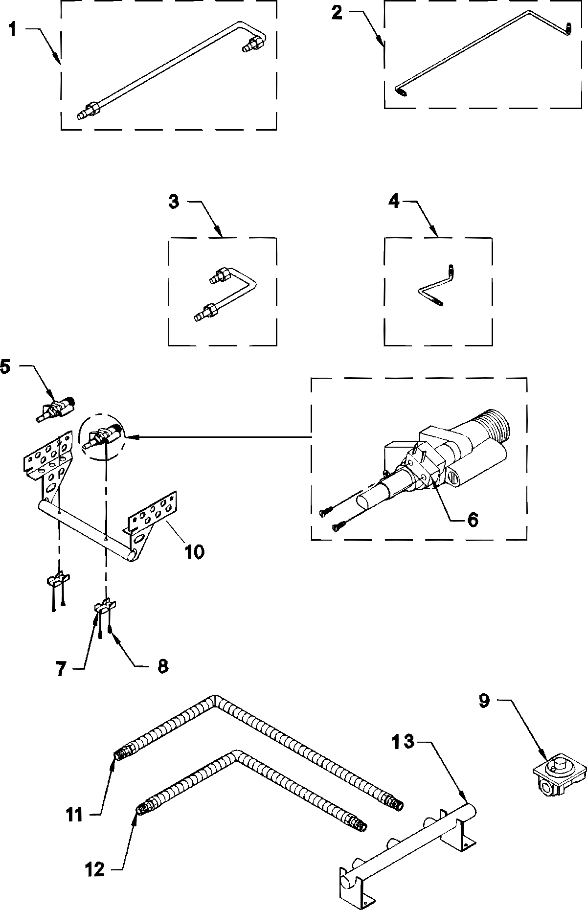
RJDF3683A 03 – MANIFOLD SECTIONadmin2025-04-26T08:53:21+00:00RJDF3683A 03 – MANIFOLD SECTION ProductsPositionProduct1MAY 700019762MAY 700019783MAY 700019774MAY 700019795VALVE (W/.70 NAT ORIFICE) 3/8``5VALVE (W/.42 LP ORIFICE) 3/8``6MAY 700019837BRACKET, VALVE (W/SCREWS)8SCREW, BRACKET/VALVE9MAY 7000198710MAY 7000237011MAY 7000235012MAY 7000198813MANIFOLD - ASSY -RJDF