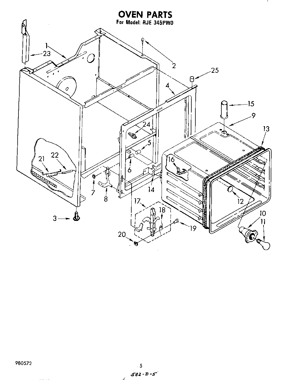
RJE345PW0 04 – OVEN