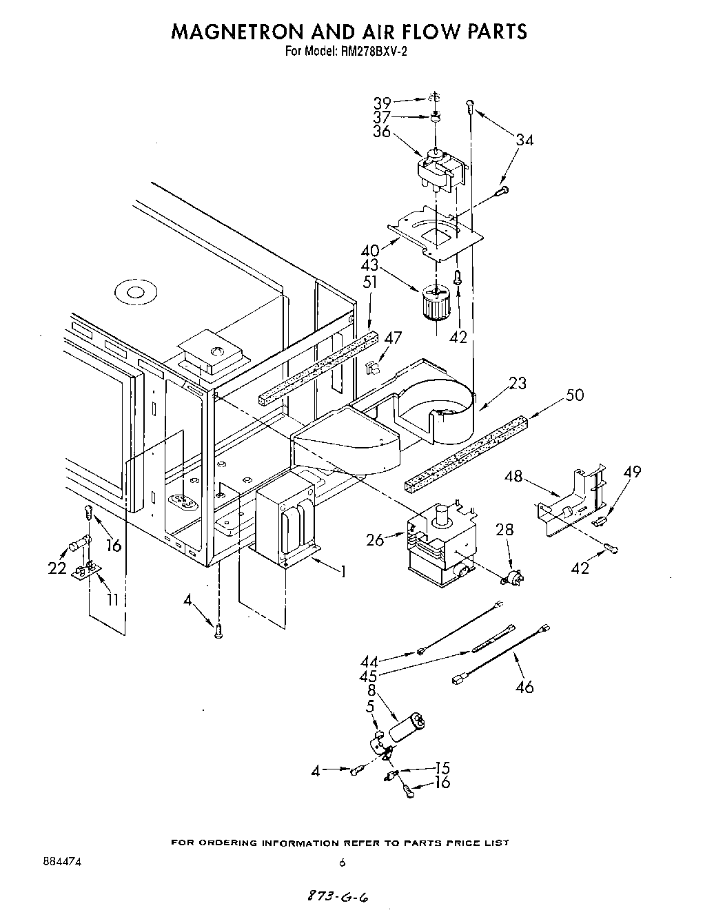
RM278BXV2 05 – MAGNETRON AND AIRFLOW