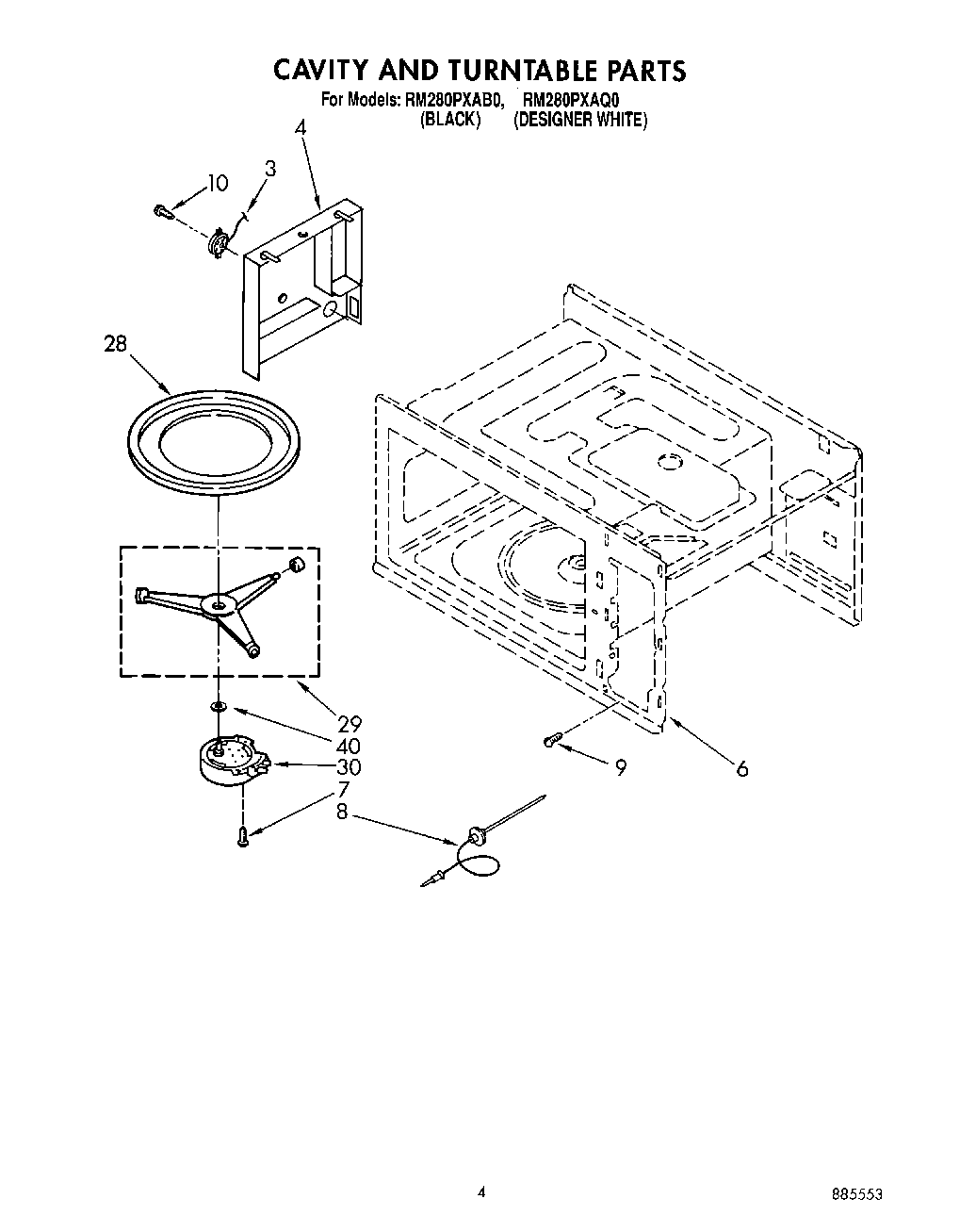
RM280PXAQ0 04 – CAVITY AND TURNTABLEadmin2025-04-26T12:07:30+00:00RM280PXAQ0 04 – CAVITY AND TURNTABLE ProductsPositionProduct3Sensor, Absolute Humidity4Duct, Sensor5Rack, Oven6Cavity, Oven (Not a Serviceable Part)8Probe, Temperature9Screw (Black)9Screw10Screw28Tray, Glass29Support, Turntable30Motor, Turntable40Gasket, Turntable