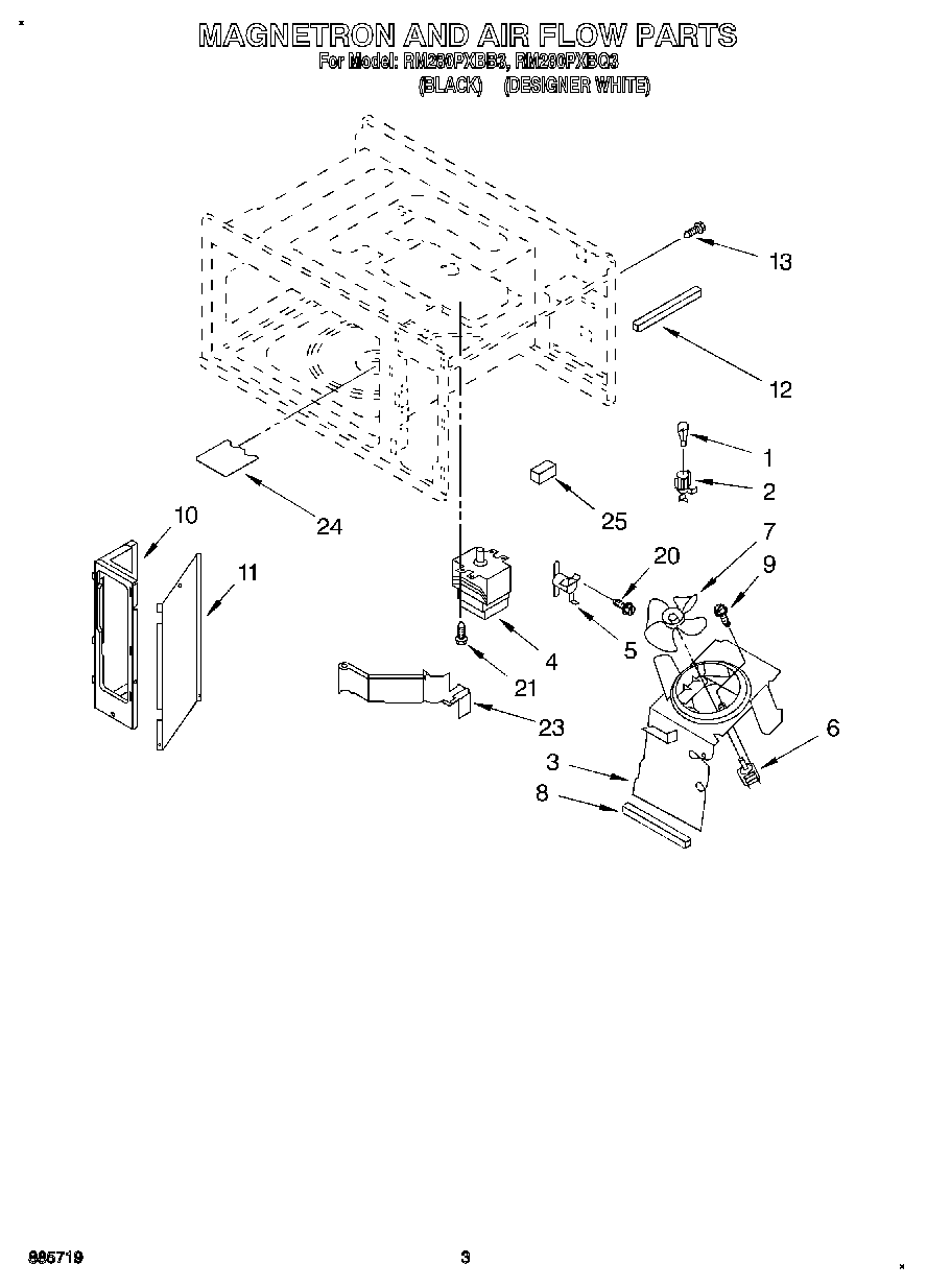
RM280PXBB3 03 – MAGNETRON AND AIR FLOWadmin2025-04-26T12:09:16+00:00RM280PXBB3 03 – MAGNETRON AND AIR FLOW ProductsPositionProduct1WPA3073101 Whirlpool Light Bulb2Socket, Lamp3Duct, Fan4Magnetron5Fuse, Magnetron Temp6Motor, Fan7Blade, Fan8Cushion, Motor9Screw10Faceplate11Cover12Cushion13Screw20Screw21Screw23Duct, Magnetron24Cover, Wave Guide25Shield, Magnetron