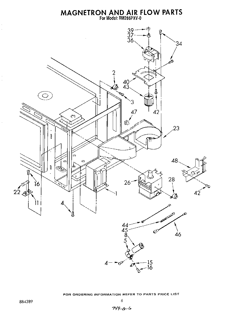
RM286PXV0 05 – MAGNETRON AND AIRFLOWadmin2025-04-26T12:08:56+00:00RM286PXV0 05 – MAGNETRON AND AIRFLOW
Products
| Position | Product |
|---|
| 1 | Transformer (Alt.) |
| 2 | Sensor, Gas |
| 3 | Screw |
| 4 | Screw, 10-32 x 1/2 Hex Washer W/Ground Ring (10) |
| 5 | Bracket, Capacitor |
| 8 | Capacitor |
| 11 | 4454949 Whirlpool Oven Fuse Block |
| 15 | Rectifier, High Voltage |
| 16 | screw |
| 22 | WPW10017410 Whirlpool Fuse |
| 23 | Air Duct (Horizontal) |
| 26 | Magnetron |
| 28 | Thermal Protector |
| 28 | Screw, 6A x 3/8 (2) |
| 34 | Screw, 11-16 x 1/2 Double Load Space Thread (5) |
| 36 | Transmotor |
| 37 | Pulley, Motor |
| 39 | ``E`` Ring |
| 40 | Bracket, Motor |
| 42 | WP486579 Whirlpool Air Conditioner Screw |
| 43 | Wheel, Blower |
| 44 | Jumper, High Voltage Red (6-5/16``) |
| 45 | WPW10339879 Whirlpool Wire Tie |
| 46 | High Voltage Lead, Gray 6-3/4`` (2) |
| 47 | Clip |
| 48 | Extension, Air Duct |