| Screw (10-12 x .875) |
| Unit, Broil (208V) |
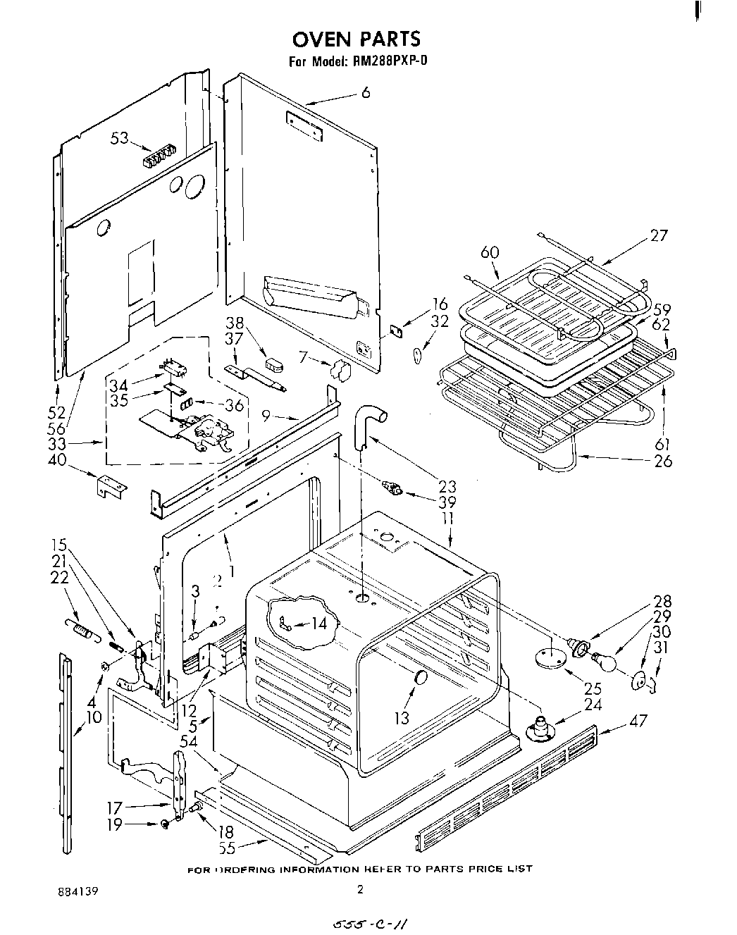
| 1 | Frame, Front |
| 2 | Pin, Hinge Ear (2) |
| 3 | Snubber, Door (2) |
| 4 | Pushnut (2) |
| 5 | Insulation Tray |
| 6 | Side Wrapper (Right Side) |
| 6 | Side Wrapper (Left Side) |
| 7 | Support, Side Wrapper (4) |
| 9 | Baffle, Top Insulation |
| 10 | Side Trim (Left Side) |
| 10 | Side Trim (Right Side) |
| 11 | Oven (30`` Pyro) |
| 12 | Bracket, Oven Mounting (2) |
| 13 | Plug Button |
| 14 | 98005642 Whirlpool Clip |
| 15 | Hinge Ear, R.H. |
| 15 | Hinge Ear, L.H. |
| 16 | Plate, Side Panel (2) |
| 16 | WP308544 Whirlpool Screw |
| 17 | Channel Arm (2) |
| 18 | WP307986 Whirlpool Hinge Pin |
| 19 | Retainer Ring (2) |
| 21 | WP308125 Whirlpool Microwave Range/Cooktop Anchor |
| 22 | WP308126 Whirlpool Door Spring |
| 23 | Tube, Vent |
| 24 | Eliminator, Smoke |
| 24 | WP90767 Whirlpool Screw |
| 25 | WPL 310662 |
| 26 | WP312309 Whirlpool Bake Element |
| 26 | ELMNT-BAKE |
| 27 | Screw, 10-32 x 5/8 (4) |
| 27 | WP660579 Whirlpool Range Wall Oven Broil Element, 3000W, 240V |
| 28 | Socket, Oven Light (Alt.) |
| 28 | Socket, Oven Light (Alt.) |
| 28 | Socket, Oven Light |
| 29 | RANGE ONLY 40W 120V APPL BULB |
| 30 | Cover, Light |
| 31 | Retainer, Light |
| 32 | WPL 311982 |
| 33 | Latch Assembly |
| 33 | Screw (3) |
| 34 | Screw |
| 34 | Safety Switch |
| 35 | Insulator, Switch |
| 36 | Shield, Latch |
| 36 | Screw |
| 36 | WP313808 Whirlpool Screw |
| 37 | Screw |
| 37 | Latch, Handle |
| 38 | Knob, Latch Handle |
| 39 | SCREW |
| 39 | Switch, Door |
| 40 | Screw, 10A x 1/2 (2) (Black) |
| 40 | WPL 312320 |
| 47 | Grill, Bottom |
| 47 | Grill, Bottom (Screw (3)) |
| 52 | WPL 310459 |
| 53 | WP112432 Whirlpool Nut Assembly |
| 53 | Screw, 80 x 5/16 |
| 53 | WP8203546 Whirlpool Terminal Block |
| 54 | WPL 310458 |
| 55 | Angle, Support (2) |
| 56 | WP308685 Whirlpool Microwave Screw |
| 56 | Cover, Rear |
| 60 | 4396923 Whirlpool Broil Pan Set Gray Porcelain |
| 61 | WPL 308173 |
| 62 | WPL 308172 |