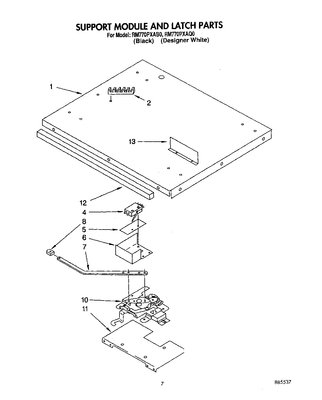
RM770PXAQ0 04 – SUPPORT MODULE AND LATCH